授权公布号:CN216235750U
一种平台的快速连接装置
有效
申请
2021-12-07
申请公布
1970-01-01
授权
2022-04-08
预估到期
2031-12-07
| 申请号 | CN202123061806.6 |
| 申请日 | 2021-12-07 |
| 授权公布号 | CN216235750U |
| 授权公告日 | 2022-04-08 |
| 分类号 | B66C23/62 |
| 分类 | 卷扬;提升;牵引; |
| 申请人名称 | 马尼托瓦克起重设备(中国)有限公司 |
| 申请人地址 | 江苏省苏州市张家港经济开发区马尼托瓦克起重设备(中国)有限公司 |
专利法律状态
2022-04-08
授权
状态信息
授权
摘要
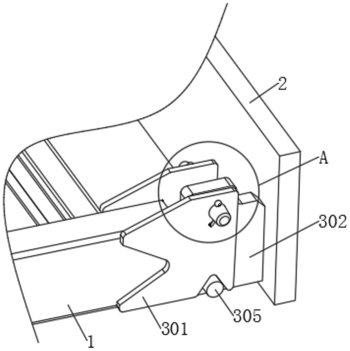
本实用新型公开了一种平台的快速连接装置,包括:第一塔机平台、第二塔机平台、快速连接机构和固定销轴;第一塔机平台;第二塔机平台设于第一塔机平台的一侧;快速连接机构设于第一塔机平台与第二塔机平台之间,快速连接机构包括一对支撑耳板,一对支撑耳板之间设有支撑板,支撑板上开凿有一对第二固定孔,第二固定孔内安装有支撑圆钢;支撑板上插设有固定销轴,固定销轴的两端均设有限位开口销。本实用新型通过对塔机平台连接相应机构的设置,使平台的连接更加简易,并且工作人员不再需要携带大量工具攀爬到高处,节省操作人员的体力和时间,从而降低发生安全事故的概率,而且为使用者节省使用成本。


