授权公布号:CN220116100U
一种塔式起重机起升变倍率结构
有效
申请
2023-04-28
申请公布
1970-01-01
授权
2023-12-01
预估到期
2033-04-28
| 申请号 | CN202321002229.X |
| 申请日 | 2023-04-28 |
| 授权公布号 | CN220116100U |
| 授权公告日 | 2023-12-01 |
| 分类号 | B66C23/62;B66C23/88 |
| 分类 | 卷扬;提升;牵引; |
| 申请人名称 | 马尼托瓦克起重设备(中国)有限公司 |
| 申请人地址 | 江苏省苏州市张家港经济开发区马尼托瓦克起重设备(中国)有限公司 |
专利法律状态
2023-12-01
授权
状态信息
授权
摘要
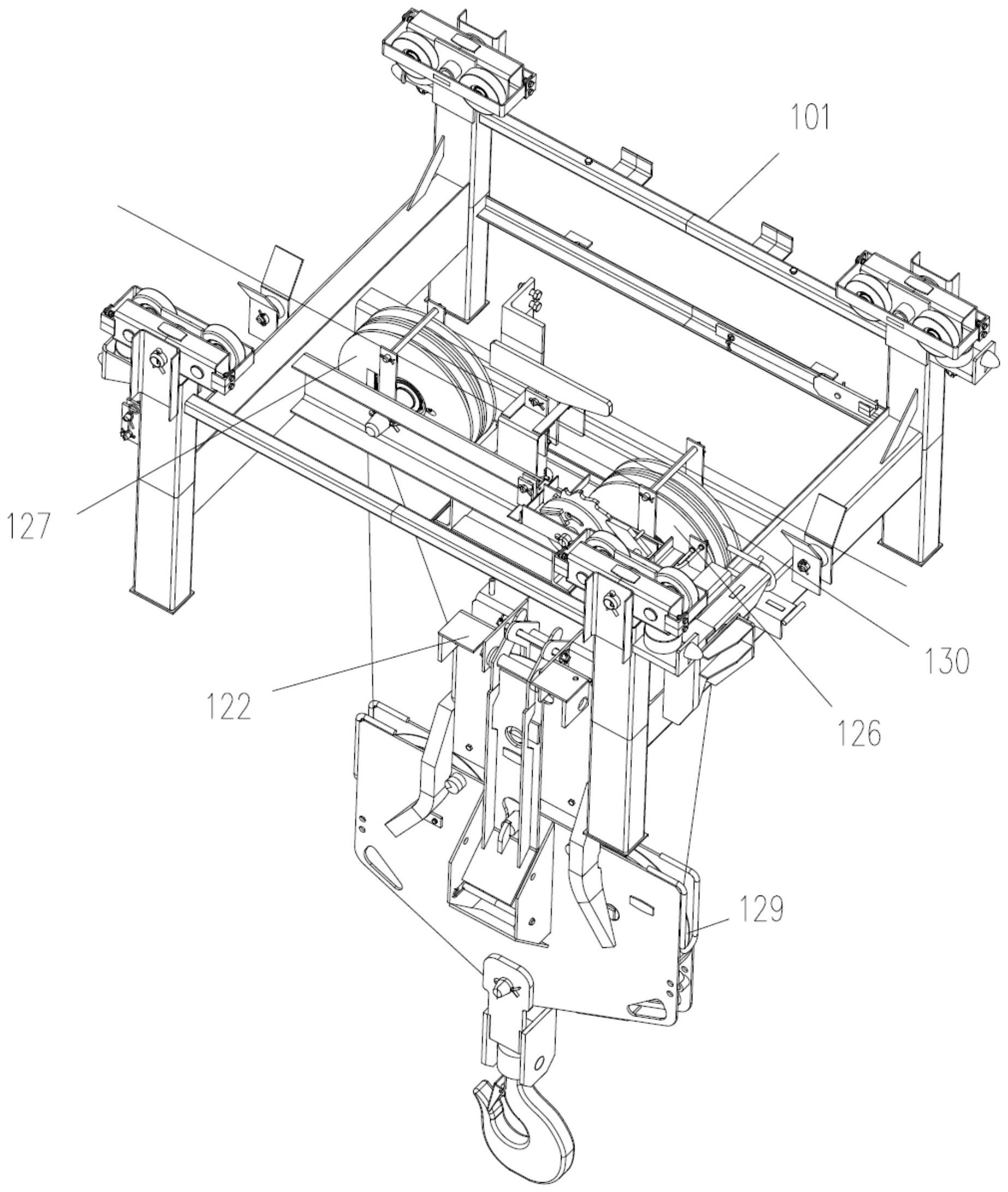
本申请公开了一种塔式起重机起升变倍率结构,包括塔机臂架、上滑轮组以及下滑轮组,所述上滑轮组的顶部两侧分别通过第一轴体向外转动安装有卡板,所述下滑轮组的顶部两侧分别向外凸伸形成有卡勾,所述卡板靠近底部处形成有钩住所述卡勾的锁孔,两所述卡板的顶部相向且向上凸伸,所述卡板的顶端高于所述上滑轮组的顶端,所述上滑轮组上升至所述卡板的顶部抵持于所述塔机臂架的底部时,所述卡板向外转动且所述卡勾与所述锁孔脱离。本实用新型结构可靠,操作简单,可以几乎实现自动化变倍率。


