授权公布号:CN206723491U
自除垢金属硬密封球阀
有效
申请
2017-04-18
申请公布
1970-01-01
授权
2017-12-08
预估到期
2027-04-18
| 申请号 | CN201720408253.1 |
| 申请日 | 2017-04-18 |
| 授权公布号 | CN206723491U |
| 授权公告日 | 2017-12-08 |
| 分类号 | F16K5/06;F16K5/08;F16K5/20 |
| 分类 | 工程元件或部件;为产生和保持机器或设备的有效运行的一般措施;一般绝热; |
| 申请人名称 | 上正阀门集团有限公司 |
| 申请人地址 | 浙江省温州市永嘉县东瓯工业区 |
专利法律状态
2017-12-08
授权
状态信息
授权
摘要
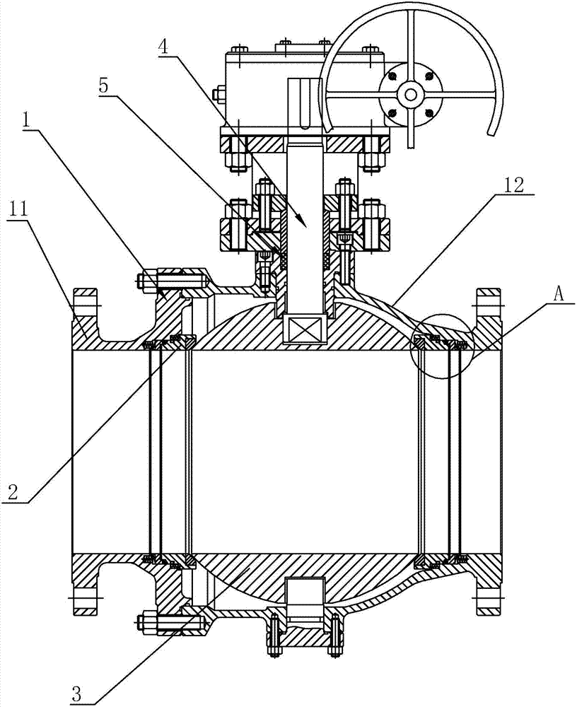
本实用新型公开了一种自除垢金属硬密封球阀,包括阀体、阀座、球体、阀杆及密封件,阀体为左阀体和右阀体通过螺丝固定连接形成,左阀体和右阀体内均设有阀座,阀座设置有刮刀与球体接触,第一密封环置于阀座和阀体之间,第二密封环置于压环和阀座之间,第一压紧弹簧置于安装阀体上,第一压紧弹簧的一端抵触压环上,推动压环按压第二密封环,阀座包括阀座主体和阀座安装环,阀座主体设有带有内螺纹的环形凹槽,阀座安装环置于环形凹槽内与阀座主体螺纹连接,刮刀设置在阀座安装环上与球体接触,在刮刀出现损坏时,只需将阀座安装环从阀座上拆卸下来,更换后再重新装配到阀座上,而无需更换整个阀座,从而降低了球阀的维修成本。


