授权公布号:CN215410286U
一种楔式双闸板闸阀
有效
申请
2021-08-11
申请公布
1970-01-01
授权
2022-01-04
预估到期
2031-08-11
| 申请号 | CN202121869834.8 |
| 申请日 | 2021-08-11 |
| 授权公布号 | CN215410286U |
| 授权公告日 | 2022-01-04 |
| 分类号 | F16K3/14;F16K3/314 |
| 分类 | 工程元件或部件;为产生和保持机器或设备的有效运行的一般措施;一般绝热; |
| 申请人名称 | 上正阀门集团有限公司 |
| 申请人地址 | 浙江省温州市永嘉县东瓯工业区 |
专利法律状态
2022-01-04
授权
状态信息
授权
摘要
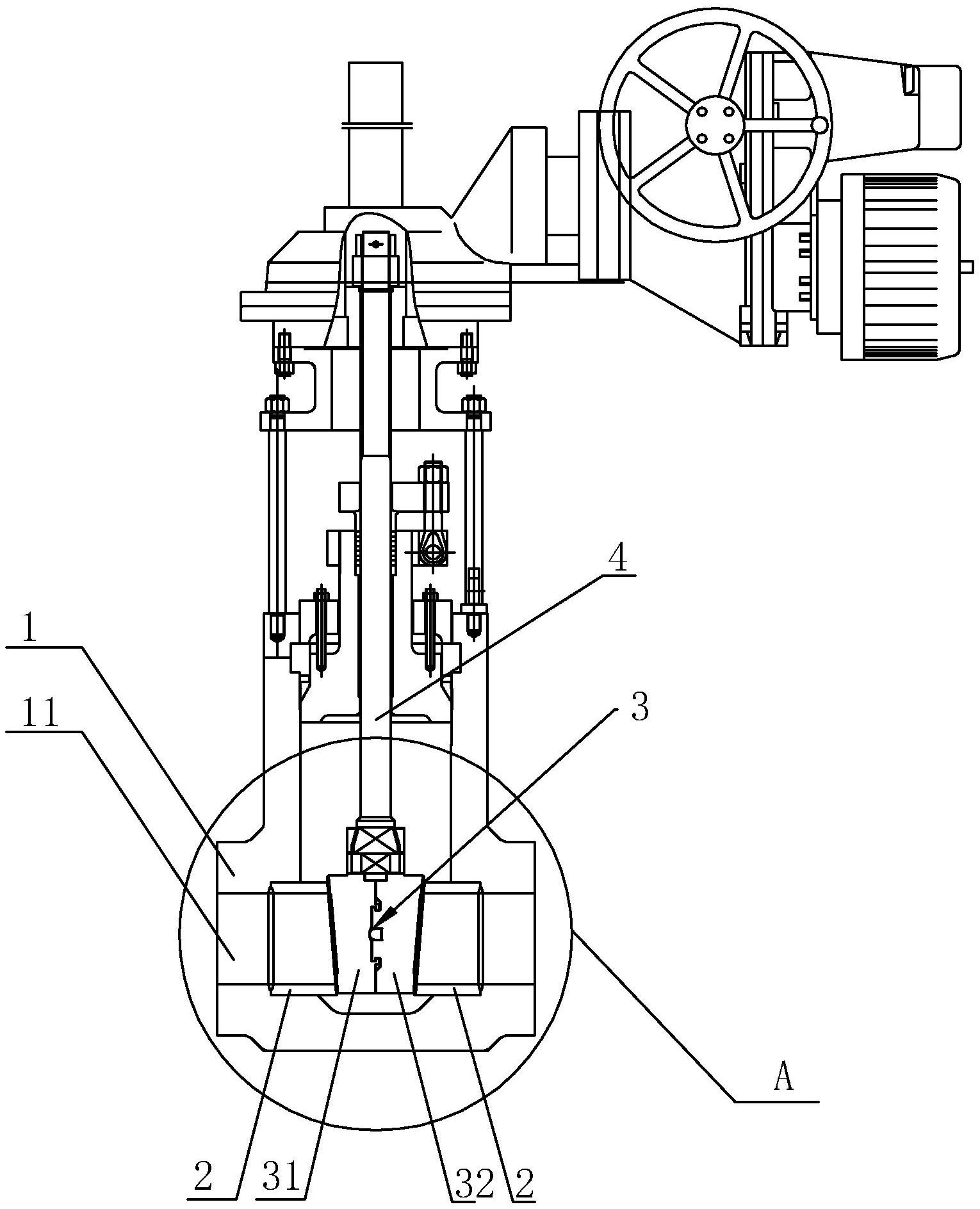
本实用新型公开了一种楔式双闸板闸阀,包括阀体、阀座、闸板和阀杆,其中阀杆的一端部与驱动装置相连接,另一端部与闸板相连接,其中阀座设置在阀体的进出口通道内与闸板相配合,本实用新型专利闸阀由左右闸板组合而成的楔式双闸板,左闸板和右闸板装配好进入阀座后,顶芯自动调整楔角β,以弥补因加工误差造成阀座和闸板的角度差,弹性件预留的变形量和左闸板和右闸板之间的间隙,可抵消管道热膨胀对阀门的附加应力,比楔式弹性单闸板补偿作用更强,且具有纠正闸板阀座角度加工偏差功能,使得闸板和阀座密封面加工研磨简单易行,密封性更好。


