授权公布号:CN211145470U
一种缓冲止回阀
有效
申请
2019-12-13
申请公布
1970-01-01
授权
2020-07-31
预估到期
2029-12-13
| 申请号 | CN201922231797.7 |
| 申请日 | 2019-12-13 |
| 授权公布号 | CN211145470U |
| 授权公告日 | 2020-07-31 |
| 分类号 | F16K15/03 |
| 分类 | 工程元件或部件;为产生和保持机器或设备的有效运行的一般措施;一般绝热; |
| 申请人名称 | 上正阀门集团有限公司 |
| 申请人地址 | 浙江省温州市永嘉县东瓯工业区 |
专利法律状态
2020-07-31
授权
状态信息
授权
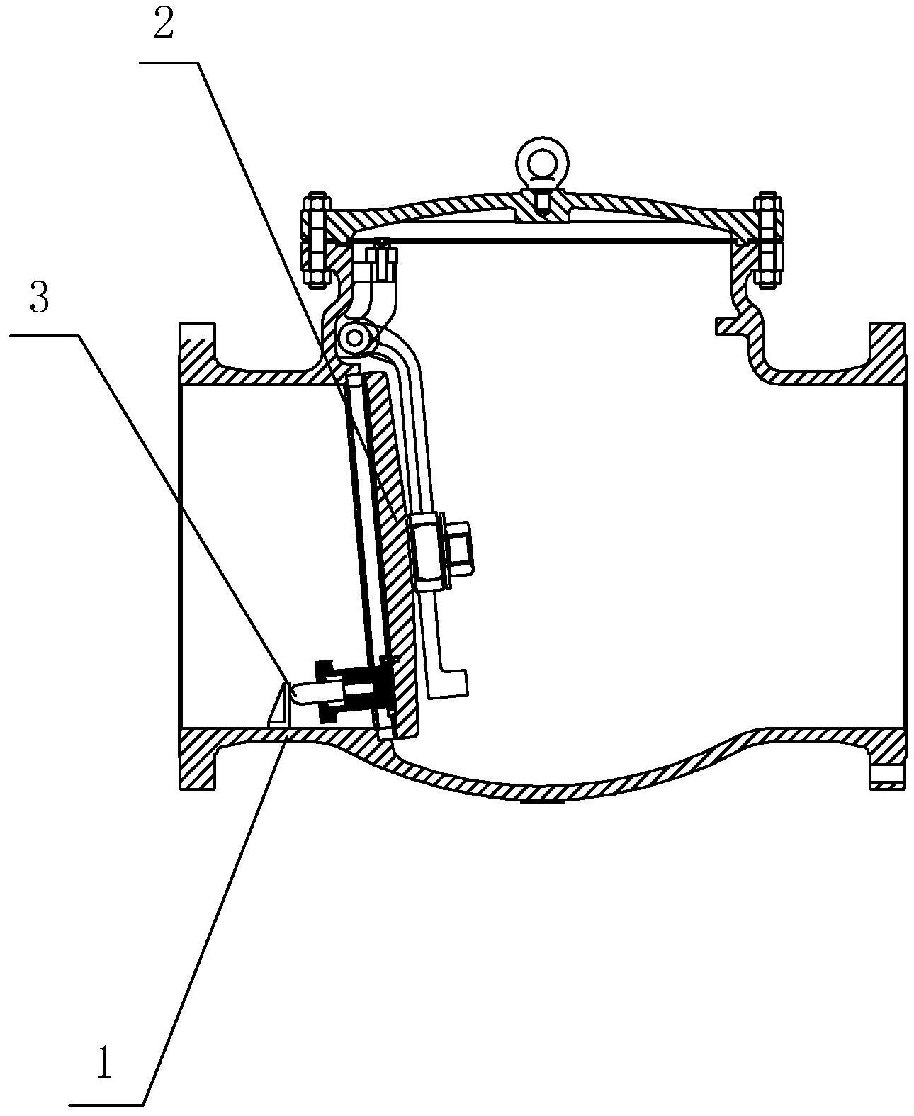
摘要
本实用新型公开了一种缓冲止回阀,包括阀体、阀瓣以及阻碍阀瓣关闭的缓冲组件;所述缓冲组件包括设于阀体内的挡板和安装于阀瓣内侧的缓冲缸以及与缓冲缸相适配的活塞;其中所述缓冲缸开设有用于介质从缓冲缸内排出的节流孔;其中活塞一端部连接有活塞杆,所述活塞杆的另一端从缓冲缸的缸盖穿出并可与挡板相抵触;所述活塞与缓冲缸缸底之间设置有弹簧,其中弹簧将活塞推向缸盖一端;当活塞杆与挡板相抵触,所述活塞杆推动活塞向缓冲缸的缸底移动,并将缓冲缸内的介质从节流孔排出,阻碍阀瓣向下转动;避免出现水锤效应;适应液体介质各种压力止回阀的缓闭设计。


