授权公布号:CN217030017U
一种超低温顶装式球阀
有效
申请
2021-12-16
申请公布
1970-01-01
授权
2022-07-22
预估到期
2031-12-16
| 申请号 | CN202123163612.7 |
| 申请日 | 2021-12-16 |
| 授权公布号 | CN217030017U |
| 授权公告日 | 2022-07-22 |
| 分类号 | F16K5/06;F16K5/20;F16K5/08;F16K41/02 |
| 分类 | 工程元件或部件;为产生和保持机器或设备的有效运行的一般措施;一般绝热; |
| 申请人名称 | 兰州高压阀门有限公司 |
| 申请人地址 | 甘肃省兰州市西固区南滨河西路689号 |
专利法律状态
2022-07-22
授权
状态信息
授权
摘要
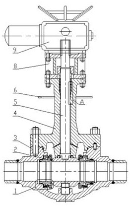
一种超低温顶装式球阀,主要包括阀体、阀盖、阀杆、球体,阀杆一端连接球体,球体和安装在阀体流道进出口处的阀座密封连接,阀杆另一端密封穿越阀盖后和执行机构连接,所述阀盖采用加长型,阀杆在阀盖的上、下端通过阀杆轴承安装在阀盖内,上、下阀杆轴承之间的阀盖内腔和阀杆之间留有间隙,且该间隙通过阀盖下端的泄放孔和阀门中腔连通。本实用新型使得该阀门在液化天然气装置中使用更为安全可靠,在超低温和常温的交变温度状态下能够密封可靠,装配制造省时省力。


