授权公布号:CN217029971U
一种多层密封自动行程的阀门
有效
申请
2021-12-16
申请公布
1970-01-01
授权
2022-07-22
预估到期
2031-12-16
| 申请号 | CN202123163594.2 |
| 申请日 | 2021-12-16 |
| 授权公布号 | CN217029971U |
| 授权公告日 | 2022-07-22 |
| 分类号 | F16K1/14;F16K1/48;F16K1/32;F16K41/02;F16K1/42;F16K27/02 |
| 分类 | 工程元件或部件;为产生和保持机器或设备的有效运行的一般措施;一般绝热; |
| 申请人名称 | 兰州高压阀门有限公司 |
| 申请人地址 | 甘肃省兰州市西固区南滨河西路689号 |
专利法律状态
2022-07-22
授权
状态信息
授权
摘要
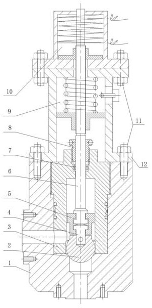
一种多层密封自动行程的阀门,包括阀体、安装于阀体上部的支架,所述阀体通道为L型,通道内通过主副补偿密封结构安装填料套箱,该填料套箱上端通过密封填料组密封安装上阀杆,密封填料组上方设置填料压板,其和填料套箱螺纹连接;在支架处的上阀杆上套装有弹簧,在支架外的上阀杆顶端设置有电磁装置;所述上阀杆下端通过轨迹导向块和下阀杆连接,轨迹导向块外缘和填料套箱的内腔滑配;所述下阀杆和球头阀瓣连接,球头阀瓣和填料套箱下方的通道口部以密封副连接。本实用新型适用于在石油化工气体、液体、粉末状等危险介质及恶劣工况下使用的控制管道中,总体使用寿命高、更换与维修频率低。


