授权公布号:CN208268488U
一种核一级大口径电动波纹管角式截止止回阀
有效
申请
2018-04-23
申请公布
1970-01-01
授权
2018-12-21
预估到期
2028-04-23
| 申请号 | CN201820580321.7 |
| 申请日 | 2018-04-23 |
| 授权公布号 | CN208268488U |
| 授权公告日 | 2018-12-21 |
| 分类号 | F16K15/18;F16K1/32;F16K41/02;F16K41/10;F16K1/50 |
| 分类 | 工程元件或部件;为产生和保持机器或设备的有效运行的一般措施;一般绝热; |
| 申请人名称 | 大连大高阀门股份有限公司 |
| 申请人地址 | 辽宁省大连市甘井子区姚家路272号大连大高阀门股份有限公司 |
专利法律状态
2023-10-20
专利权质押合同登记的生效、变更及注销
状态信息
专利权质押合同登记的生效;IPC(主分类):F16K 15/18;专利号:ZL2018205803217;登记号:Y2023980059639;登记生效日:20230927;出质人:大连大高阀门股份有限公司;质权人:上海浦东发展银行股份有限公司大连分行;实用新型名称:一种核一级大口径电动波纹管角式截止止回阀;申请日:20180423;授权公告日:20181221
2018-12-21
授权
状态信息
授权
摘要
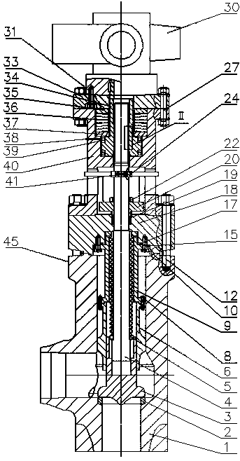
一种核一级大口径电动波纹管角式截止止回阀包括阀体、阀座、阀盖、阀瓣运动组件、阀杆、波纹管密封组件、电动装置、缓冲机构;所述阀瓣运动组件包括阀瓣、导向套、防转机构,波纹管密封组件包括波纹管、石墨环、填料、缠绕垫片;阀座设置在阀体内部,阀盖设置在阀体上,电动装置通过支架与阀盖连接,电动装置与阀杆设置缓冲机构,阀杆下端与波纹管下部通过焊接连接,防转销依次穿过阀瓣和导向套,导向套顶端与波纹管支架底端通过螺栓连接并设置防松垫片,波纹管支架法兰处与阀盖底面通过螺栓连接。具有稳流、调节、止回及截止功能的阀瓣组件结构,调节阀、止回阀和截止阀融于一体,减少管路设备安装提高系统安全系数,节约核岛内部安装空间。


