授权公布号:CN105570484B
高温气冷堆主蒸汽隔离阀
有效
申请
2015-12-25
申请公布
2016-05-11
授权
2018-06-15
预估到期
2035-12-25
| 申请号 | CN201510985651.5 |
| 申请日 | 2015-12-25 |
| 申请公布号 | CN105570484A |
| 申请公布日 | 2016-05-11 |
| 授权公布号 | CN105570484B |
| 授权公告日 | 2018-06-15 |
| 分类号 | F16K3/14;F16K3/314;F16K3/316;F16K27/04;F16K41/02 |
| 分类 | 工程元件或部件;为产生和保持机器或设备的有效运行的一般措施;一般绝热; |
| 申请人名称 | 大连大高阀门股份有限公司 |
| 申请人地址 | 辽宁省大连市甘井子区姚家路272号大连大高阀门股份有限公司 |
专利法律状态
2023-10-20
专利权质押合同登记的生效、变更及注销
状态信息
专利权质押合同登记的生效;IPC(主分类):F16K3/14;专利号:ZL2015109856515;登记号:Y2023980059639;登记生效日:20230927;出质人:大连大高阀门股份有限公司;质权人:上海浦东发展银行股份有限公司大连分行;发明名称:高温气冷堆主蒸汽隔离阀;申请日:20151225;授权公告日:20180615
2018-06-15
授权
状态信息
授权
2016-06-08
实质审查的生效
状态信息
实质审查的生效;IPC(主分类):F16K3/14;申请日:20151225
2016-05-11
公布
状态信息
公布
摘要
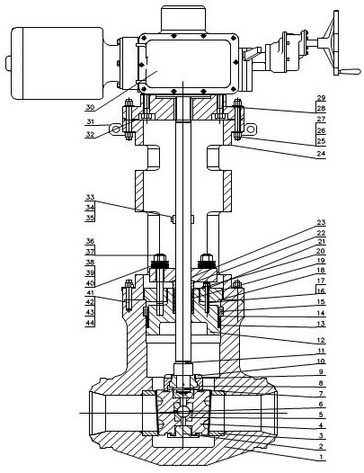
高温气冷堆主蒸汽隔离阀,其包括阀体、阀座、阀盖、阀杆运动组件、支架和电动装置;所述阀杆运动组件包括左闸板、右闸板、保持架、顶心球、闸板叉和阀杆;阀座设置在阀体内部,阀盖设置在阀体上,保持架位于在阀体内部,电动装置通过支架与阀盖连接,电动装置连接阀杆,阀杆下端与保持架上部连接,保持架上部与闸板叉连接,左闸板与右闸板设置在闸板叉与保持架下部之间,顶心球支撑左闸板与右闸板,顶心球分别与左闸板和右闸板球面接触,左闸板与右闸板均与保持架球面接触。阀门采用了球面接触的可调节楔式双闸板结构,该结构能保证补偿在高温下由于温度产生的变形和管端载荷使隔离阀的变形。


