授权公布号:CN214578869U
一种核级气动仪表阀
有效
申请
2020-12-28
申请公布
1970-01-01
授权
2021-11-02
预估到期
2030-12-28
| 申请号 | CN202023233237.4 |
| 申请日 | 2020-12-28 |
| 授权公布号 | CN214578869U |
| 授权公告日 | 2021-11-02 |
| 分类号 | F16K1/00;F16K31/122;F16K37/00;F16K41/02 |
| 分类 | 工程元件或部件;为产生和保持机器或设备的有效运行的一般措施;一般绝热; |
| 申请人名称 | 大连大高阀门股份有限公司 |
| 申请人地址 | 辽宁省大连市甘井子区姚家路272号大连大高阀门股份有限公司 |
专利法律状态
2023-05-23
专利权人的姓名或者名称、地址的变更
状态信息
专利权人的姓名或者名称、地址的变更;IPC(主分类):F16K1/00;专利号:ZL2020232332374;变更事项:专利权人;变更前:大连大高阀门股份有限公司;变更后:大连大高阀门股份有限公司;变更事项:地址;变更前:116037 辽宁省大连市甘井子区姚家路272号大连大高阀门股份有限公司;变更后:116037 辽宁省大连市甘井子区姚家路272号大连大高阀门股份有限公司;变更事项:专利权人;变更前:上海核工程研究设计院有限公司;变更后:上海核工程研究设计院股份有限公司
2021-11-02
授权
状态信息
授权
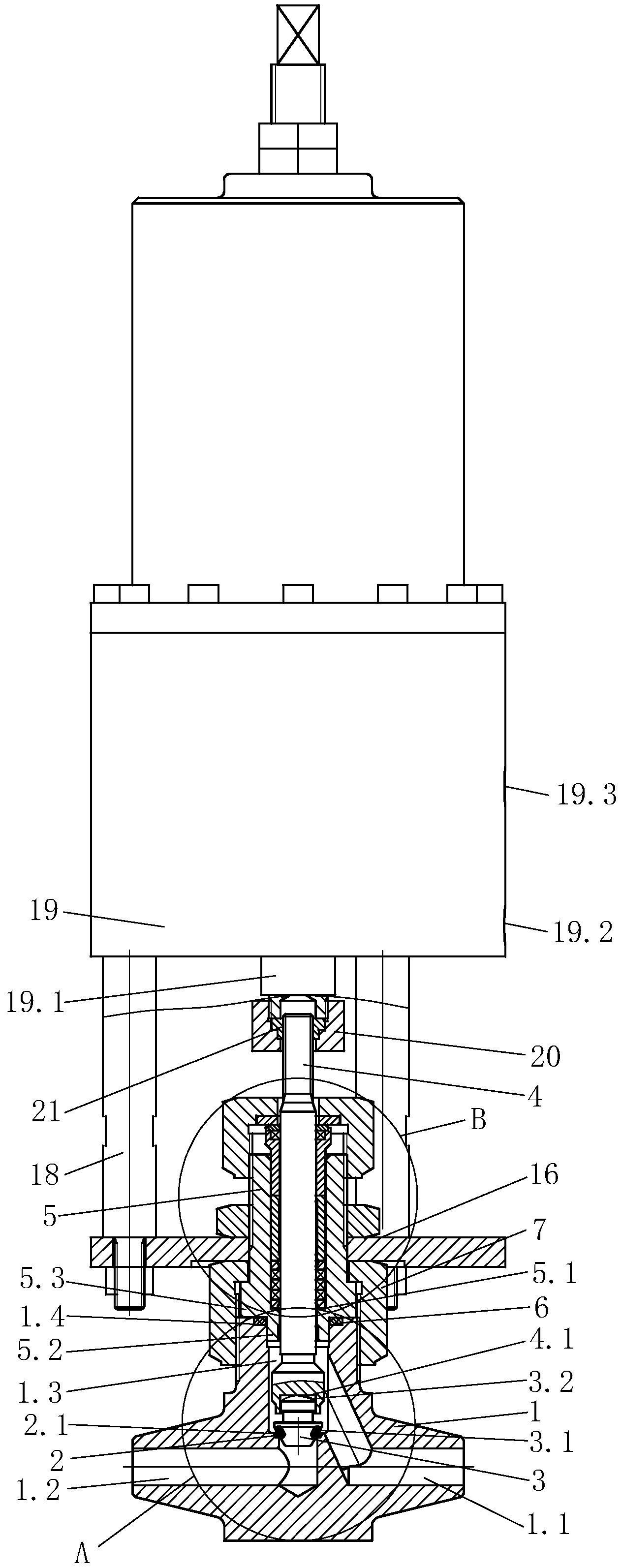
摘要
本实用新型涉及一种核级气动仪表阀,包括阀体、阀座、阀瓣、阀杆和填料箱;阀体上设置有填料箱,阀体内部设置有阀座,阀杆穿过填料箱,阀杆下端与阀瓣连接。其结构紧凑,性能好。


