授权公布号:CN216479217U
一种双活塞先导式带弹簧复位结构的角式截止阀
有效
申请
2021-12-02
申请公布
1970-01-01
授权
2022-05-10
预估到期
2031-12-02
| 申请号 | CN202123005490.9 |
| 申请日 | 2021-12-02 |
| 授权公布号 | CN216479217U |
| 授权公告日 | 2022-05-10 |
| 分类号 | F16K31/38;F16K37/00;F16K47/00;F16K41/02;F16K27/02;F16K1/36 |
| 分类 | 工程元件或部件;为产生和保持机器或设备的有效运行的一般措施;一般绝热; |
| 申请人名称 | 大连大高阀门股份有限公司 |
| 申请人地址 | 辽宁省大连市甘井子区姚家路272号大连大高阀门股份有限公司 |
专利法律状态
2023-10-20
专利权质押合同登记的生效、变更及注销
状态信息
专利权质押合同登记的生效;IPC(主分类):F16K 31/38;专利号:ZL2021230054909;登记号:Y2023980059639;登记生效日:20230927;出质人:大连大高阀门股份有限公司;质权人:上海浦东发展银行股份有限公司大连分行;实用新型名称:一种双活塞先导式带弹簧复位结构的角式截止阀;申请日:20211202;授权公告日:20220510
2022-05-10
授权
状态信息
授权
摘要
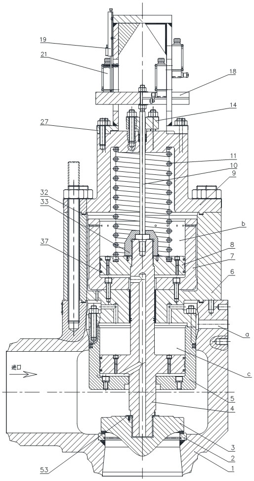
本实用新型涉及一种双活塞先导式带弹簧复位结构的角式截止阀,包括:阀体、阀座、阀瓣、双活塞弹簧复位执行机构、阀盖、支架;双活塞弹簧复位执行机构包括:上活塞缸套、活塞、螺母、下活塞缸套、活塞杆、弹簧、加长体、顶杆;活塞杆为双活塞结构,活塞杆的下部活塞位于下腔体中,活塞杆的上部设有活塞,上部的活塞与活塞杆用螺母压紧固定,顶杆的一端固定在螺母的空腔内;顶杆的另一端延伸出阀盖;弹簧安装在活塞杆的上部活塞与阀盖之间;内置上下双活塞加弹簧复位执行机构满足阀门启闭动作时间的同时,实现执行机构规格的最小化,内置结构避免介质外漏;复位弹簧在阀门关闭时起辅助作用,阀门开启时,起缓冲作用,减小快速开启对阀门的冲击。


