授权公布号:CN215487742U
一种满足高温高压快速关闭功能要求的快关隔离阀
有效
申请
2021-06-30
申请公布
1970-01-01
授权
2022-01-11
预估到期
2031-06-30
| 申请号 | CN202121470959.3 |
| 申请日 | 2021-06-30 |
| 授权公布号 | CN215487742U |
| 授权公告日 | 2022-01-11 |
| 分类号 | F16K3/12;F16K3/314;F16K41/02;F16K49/00;F16K39/04;F16K37/00;F16K31/122;F15B11/072;F15B13/04 |
| 分类 | 工程元件或部件;为产生和保持机器或设备的有效运行的一般措施;一般绝热; |
| 申请人名称 | 大连大高阀门股份有限公司 |
| 申请人地址 | 辽宁省大连市甘井子区姚家路272号大连大高阀门股份有限公司 |
专利法律状态
2023-10-20
专利权质押合同登记的生效、变更及注销
状态信息
专利权质押合同登记的生效;IPC(主分类):F16K3/12;专利号:ZL2021214709593;登记号:Y2023980059639;登记生效日:20230927;出质人:大连大高阀门股份有限公司;质权人:上海浦东发展银行股份有限公司大连分行;实用新型名称:一种满足高温高压快速关闭功能要求的快关隔离阀;申请日:20210630;授权公告日:20220111
2022-01-11
授权
状态信息
授权
摘要
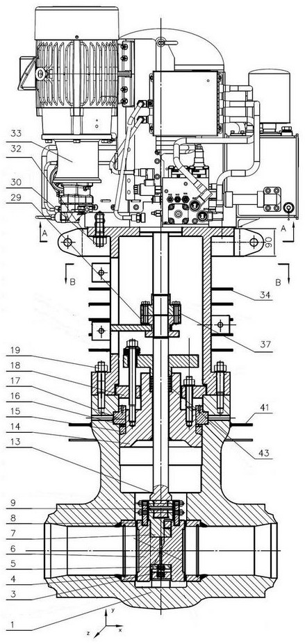
本实用新型涉及一种满足高温高压快速关闭功能要求的快关隔离阀,包括:阀体、阀座、阀杆运动组件、中腔密封组件、支架、控制装置、旁通阀、旁通阀组件;阀座与阀体通过焊接连接为一体;阀杆与上楔块通过螺纹连接,旁通阀组件包括:第一接管、第二接管、第三接管、接管弯头;在支架和阀体上分别设置散热装置,降低行程开关及驱动装置处温度,减小阀门整体高度;在阀门上设有旁通阀,通过旁通阀与旁通阀组件将阀体的入口端、出口端与中腔导通,实现平衡阀门中腔压力,防止出现中腔超压现象发生;该隔离阀不仅能够起到正常的开关功能,而且在所有预计的正常、异常或事故工况下,在接到隔离信号后,隔离阀能够在1~3秒内快速自动关闭,以起隔离作用。


