授权公布号:CN210484631U
一种角式升降止回阀
有效
申请
2019-09-12
申请公布
1970-01-01
授权
2020-05-08
预估到期
2029-09-12
| 申请号 | CN201921518600.1 |
| 申请日 | 2019-09-12 |
| 授权公布号 | CN210484631U |
| 授权公告日 | 2020-05-08 |
| 分类号 | F16K1/00;F16K1/32;F16K1/36;F16K27/02;F16K31/122 |
| 分类 | 工程元件或部件;为产生和保持机器或设备的有效运行的一般措施;一般绝热; |
| 申请人名称 | 大连大高阀门股份有限公司 |
| 申请人地址 | 辽宁省大连市甘井子区姚家路272号大连大高阀门股份有限公司 |
专利法律状态
2023-10-20
专利权质押合同登记的生效、变更及注销
状态信息
专利权质押合同登记的生效;IPC(主分类):F16K1/00;专利号:ZL2019215186001;登记号:Y2023980059639;登记生效日:20230927;出质人:大连大高阀门股份有限公司;质权人:上海浦东发展银行股份有限公司大连分行;实用新型名称:一种角式升降止回阀;申请日:20190912;授权公告日:20200508
2020-05-08
授权
状态信息
授权
摘要
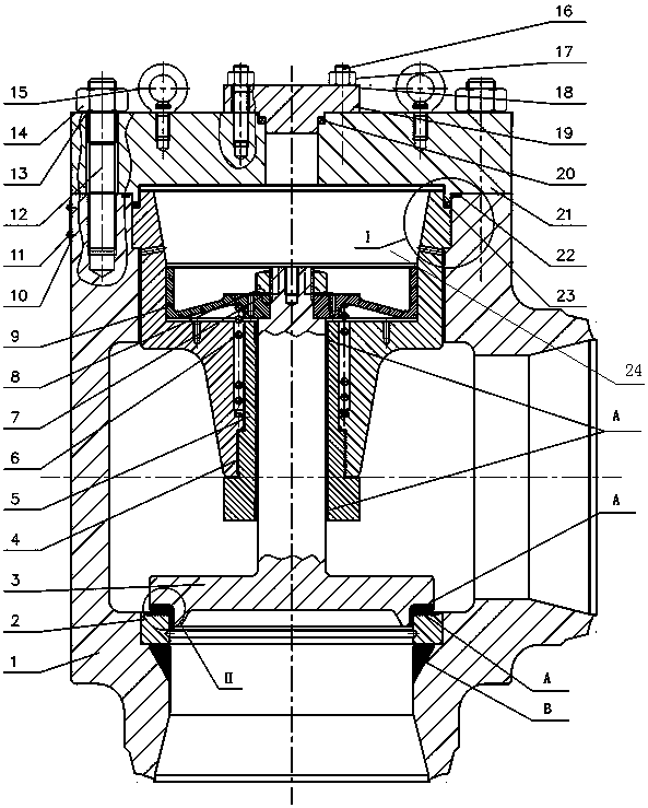
本实用新型是一种角式升降止回阀,适用于核电站蒸汽发生器(SG)处的主给水管线上,属于机械领域;所述阀体上部安装活塞运动组件及中腔密封组件,所述活塞运动组件包括阀瓣及活塞,所述中腔密封组件包括阀盖、缸套组件;所述阀体上部可拆卸固定阀盖,阀体内部上侧安装缸套组件,阀瓣上部固定连接活塞,所述阀盖与缸套组件之间形成中腔,活塞带动阀瓣在中腔内作升降运动,所述缸套组件上设置有导流孔,导流孔一端联通中腔,另一端联通缸套组件与阀体之间的缝隙。该止回阀不仅能够保持正常的开启功能,而且在异常或事故工况(上游主给水管道断裂)下,防止关闭过程中产生过大的水击力而导致下游管道破裂,以减小快速关闭过程中的水击影响。


