授权公布号:CN105443790B
可调节楔式双闸板
有效
申请
2015-12-25
申请公布
2016-03-30
授权
2018-05-22
预估到期
2035-12-25
| 申请号 | CN201510985641.1 |
| 申请日 | 2015-12-25 |
| 申请公布号 | CN105443790A |
| 申请公布日 | 2016-03-30 |
| 授权公布号 | CN105443790B |
| 授权公告日 | 2018-05-22 |
| 分类号 | F16K3/12;F16K3/18;F16K3/314;F16K3/316;F16K31/00 |
| 分类 | 工程元件或部件;为产生和保持机器或设备的有效运行的一般措施;一般绝热; |
| 申请人名称 | 大连大高阀门股份有限公司 |
| 申请人地址 | 辽宁省大连市甘井子区姚家路272号大连大高阀门股份有限公司 |
专利法律状态
2023-10-20
专利权质押合同登记的生效、变更及注销
状态信息
专利权质押合同登记的生效;IPC(主分类):F16K3/12;专利号:ZL2015109856411;登记号:Y2023980059639;登记生效日:20230927;出质人:大连大高阀门股份有限公司;质权人:上海浦东发展银行股份有限公司大连分行;发明名称:可调节楔式双闸板;申请日:20151225;授权公告日:20180522
2018-05-22
授权
状态信息
授权
2016-04-27
实质审查的生效
状态信息
实质审查的生效;IPC(主分类):F16K3/12;申请日:20151225
2016-03-30
公布
状态信息
公布
摘要
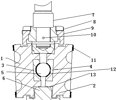
可调节楔式双闸板,其特征在于:包括阀杆、左闸板、右闸板、顶心球、闸板叉和保持架;所述保持架设置在阀体内部,阀杆下端与保持架上部连接,保持架上部与闸板叉连接,左闸板与右闸板设置在闸板叉与保持架下部之间,顶心球支撑左闸板与右闸板,顶心球分别与左闸板和右闸板球面接触。左闸板和右闸板在保持架和闸板叉范围内由顶心球和顶心座支撑,闸板可根据阀座、阀体由温度和载荷产生的形变绕着顶心球转动,使闸板密封面与阀座密封面吻合,保证密封性,避免闸板和阀座之间的应力过大导致楔住或卡住现象。


