授权公布号:CN209839207U
上装超高温球阀
有效
申请
2019-01-17
申请公布
1970-01-01
授权
2019-12-24
预估到期
2029-01-17
| 申请号 | CN201920077592.5 |
| 申请日 | 2019-01-17 |
| 授权公布号 | CN209839207U |
| 授权公告日 | 2019-12-24 |
| 分类号 | F16K5/06;F16K5/08;F16K27/06;F16K31/60;F16K49/00 |
| 分类 | 工程元件或部件;为产生和保持机器或设备的有效运行的一般措施;一般绝热; |
| 申请人名称 | 宣达实业集团有限公司 |
| 申请人地址 | 浙江省温州市永嘉县瓯北镇东瓯工业区 |
专利法律状态
2019-12-24
授权
状态信息
授权
摘要
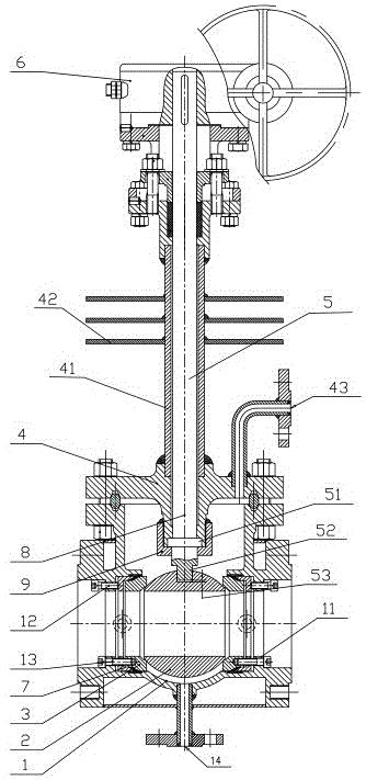
一种上装超高温球阀,独特的阀座与阀体密封结构代替石墨密封,解决石墨密封高温氧化问题,同时解决了超高温状态的普通弹簧问题;巧妙的设计凸台,固定阀座和预紧阀座,达到密封预紧比压,通过设计巧妙的限位帽设计解决了高温加长阀盖和阀杆膨胀顶死球体问题,阀门的关闭和全开状态的吹扫,解决颗粒和粉末的卡阻问题;夹套水冷设计,解决异常升温到1000℃时阀体强度问题,增加安全保障,解决了阀门热膨胀的卡阻问题。


