授权公布号:CN215891133U
一种多功能智能型放料阀
有效
申请
2021-09-15
申请公布
1970-01-01
授权
2022-02-22
预估到期
2031-09-15
| 申请号 | CN202122226876.6 |
| 申请日 | 2021-09-15 |
| 授权公布号 | CN215891133U |
| 授权公告日 | 2022-02-22 |
| 分类号 | F16K1/00;F16K1/32;F16K1/36;F16K1/46;F16K41/10;F16K41/02;F16K31/122;F16K27/02 |
| 分类 | 工程元件或部件;为产生和保持机器或设备的有效运行的一般措施;一般绝热; |
| 申请人名称 | 立信阀门集团有限公司 |
| 申请人地址 | 浙江省温州市永嘉县瓯北街道安丰工业区 |
专利法律状态
2022-02-22
授权
状态信息
授权
摘要
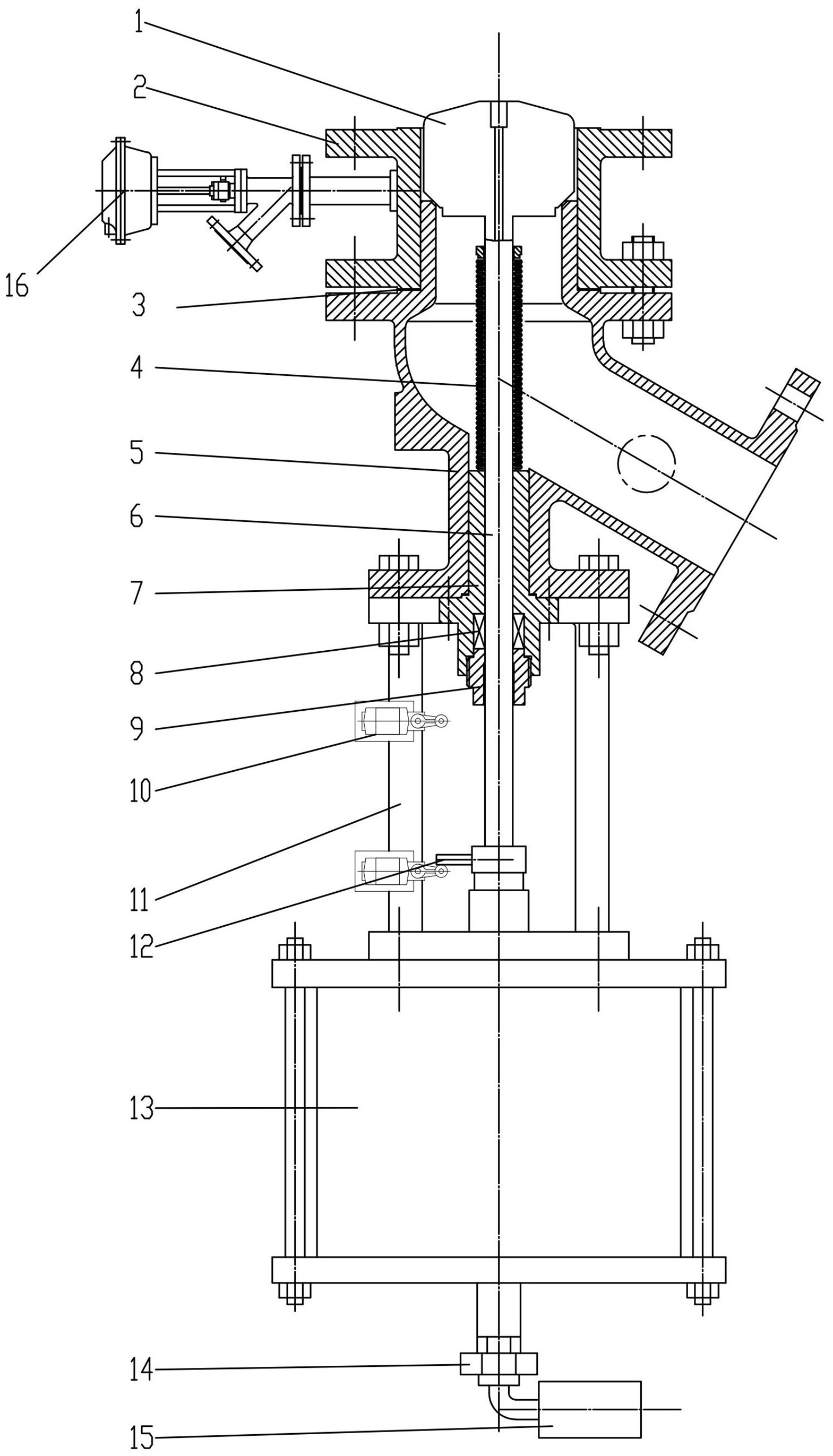
本实用新型多功能智能型放料阀,包括阀体、阀杆、阀芯、支架、执行器,阀体进口通道中心线与阀杆中心线重合,阀体出口通道中心线与阀杆下端中心线之间构成锐角;其特征是:阀体通过底部法兰安装于反应釜底部,阀座密封面插入到底部法兰的上法兰与下法兰之间的通道内,在位于阀座密封面上方的底部法兰通道侧壁安装取样阀;在阀芯中心封装接触式温度传感器。集放料阀和取样阀为一体,取样阀由温度传感器控制自动取样,减少了反应釜设备安装数量和安装泄漏点,降低设备安装成本;阀杆与填料箱之间采用波纹管和填料双重密封结构,提高中腔密封性能,防止介质外露,密封性能可靠。


