授权公布号:CN111765255B
一种长寿命蝶阀
有效
申请
2020-07-04
申请公布
2020-10-13
授权
2021-07-30
预估到期
2040-07-04
| 申请号 | CN202010632934.2 |
| 申请日 | 2020-07-04 |
| 申请公布号 | CN111765255A |
| 申请公布日 | 2020-10-13 |
| 授权公布号 | CN111765255B |
| 授权公告日 | 2021-07-30 |
| 分类号 | F16K1/22;F16K1/226;F16K1/38;F16K27/02;F16K31/53;F16K31/60 |
| 分类 | 工程元件或部件;为产生和保持机器或设备的有效运行的一般措施;一般绝热; |
| 申请人名称 | 立信阀门集团有限公司 |
| 申请人地址 | 浙江省温州市永嘉县瓯北城市新区东瓯工业区舟山路 |
专利法律状态
2023-07-07
专利权质押合同登记的生效、变更及注销
状态信息
专利权质押合同登记的生效;IPC(主分类):F16K1/22;专利号:ZL2020106329342;登记号:Y2023330001238;登记生效日:20230620;出质人:立信阀门集团有限公司;质权人:中国农业银行股份有限公司永嘉县支行;发明名称:一种长寿命蝶阀;申请日:20200704;授权公告日:20210730
2023-07-07
专利权质押合同登记的生效、变更及注销
状态信息
专利权质押合同登记的生效;IPC(主分类):F16K1/22;登记号:Y2023330001238;登记生效日:20230620;出质人:立信阀门集团有限公司;质权人:中国农业银行股份有限公司永嘉县支行;发明名称:一种长寿命蝶阀;申请日:20200704;授权公告日:20210730
2021-07-30
授权
状态信息
授权
2021-07-23
专利申请权、专利权的转移
状态信息
专利申请权的转移;IPC(主分类):F16K1/22;登记生效日:20210712;变更事项:申请人;变更前:邵立坤;变更后:立信阀门集团有限公司;变更事项:地址;变更前:315000 浙江省宁波市国家高新区创苑路510号;变更后:325102 浙江省温州市永嘉县瓯北城市新区东瓯工业区舟山路
2020-10-30
实质审查的生效
状态信息
实质审查的生效;IPC(主分类):F16K1/22;申请日:20200704
2020-10-13
公布
状态信息
公布
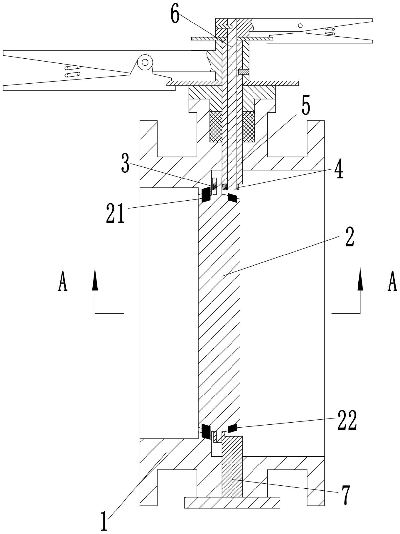
摘要
本发明公开了一种长寿命蝶阀,包括阀体,所述阀体内设有左右贯穿的通道,其特征在于,所述通道的内侧壁沿径向设有阀板,所述阀板上设有锥孔;所述阀体的侧壁转动连接有下端伸入通道内的阀杆,所述通道在阀杆的正下方转动连接轴杆;所述阀杆在靠近下端的侧面设有上凸块,所述轴杆在靠近上端的侧面设有下凸块,所述上凸块和下凸块之间转动连接有阀块;所述阀块的两侧对称设有第一密封锥面和第二密封锥面,所述第一密封锥面上设有第一密封圈,所述第二密封锥面上设有第二密封圈;所述阀杆内转动连接有调节杆,所述调节杆的下端伸入通道内,所述阀块和调节杆的下端之间设有传动组件;该蝶阀不仅结构简单,而且阀块的密封圈更换简单。


