授权公布号:CN217380986U
一种传动箱油路润滑系统
有效
申请
2022-02-28
申请公布
1970-01-01
授权
2022-09-06
预估到期
2032-02-28
| 申请号 | CN202220404219.8 |
| 申请日 | 2022-02-28 |
| 授权公布号 | CN217380986U |
| 授权公告日 | 2022-09-06 |
| 分类号 | F04D29/063;F04D29/58 |
| 分类 | 液体变容式机械;液体泵或弹性流体泵; |
| 申请人名称 | 上海通用风机股份有限公司 |
| 申请人地址 | 上海市奉贤区奉浦开发区远东路529号 |
专利法律状态
2022-09-06
授权
状态信息
授权
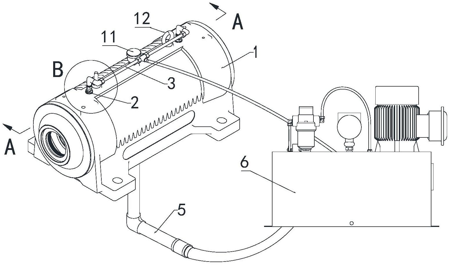
摘要
本实用新型涉及一种传动箱油路润滑系统,包括有液压油站,固定在所述壳体顶部、临近两个轴承位置处的两个喷淋装置,连接喷淋装置与液压油站的进油管路,设置于所述壳体的底部的油槽,以及连接油槽和液压油站的出油管路,喷淋装置截面大致呈“L”型,包括有喷头,所述喷头的顶端外侧开设有喷嘴,所述喷头的下端固定有螺帽,螺帽上与所述喷嘴同侧的位置处设置有标记孔,安装时确保标记孔正对轴承的方向,以保证喷嘴正对着轴承进行喷淋。在本实用新型中,在传动箱上增加喷淋装置,对运行中的轴承进行喷淋润滑油,起到润滑和降温的作用;在箱体底部打孔增加接头,保证接头插入深度约与正常油位线持平,保证箱体内部不会出现缺油现象。


