授权公布号:CN112554945B
一种扁担梁防掉落多重防护抗震吊架
有效
申请
2020-11-19
申请公布
2021-03-26
授权
2023-05-09
预估到期
2040-11-19
| 申请号 | CN202011306249.7 |
| 申请日 | 2020-11-19 |
| 申请公布号 | CN112554945A |
| 申请公布日 | 2021-03-26 |
| 授权公布号 | CN112554945B |
| 授权公告日 | 2023-05-09 |
| 分类号 | E21F17/02;F16F15/023;F16F15/04;F16F15/06 |
| 分类 | 土层或岩石的钻进;采矿; |
| 申请人名称 | 浙江上风高科专风实业股份有限公司 |
| 申请人地址 | 浙江省绍兴市上虞区东关街道人民西路1818号 |
专利法律状态
2023-05-09
授权
状态信息
授权
2021-03-26
公布
状态信息
公布
摘要
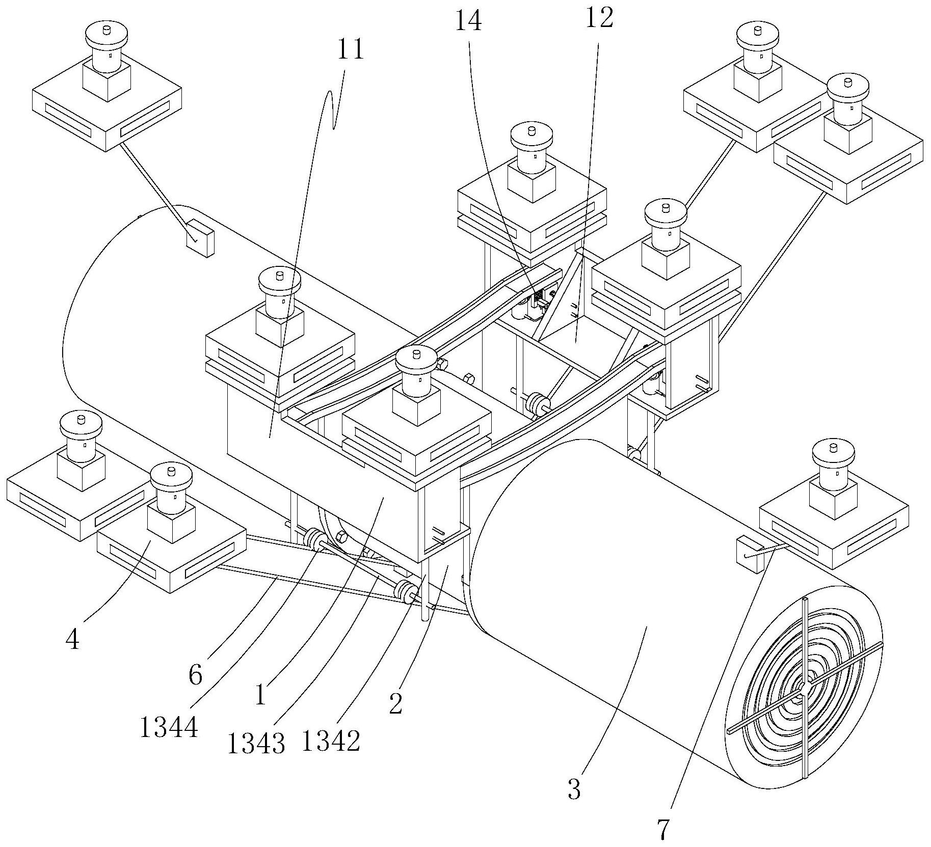
本发明公开了一种扁担梁防掉落多重防护抗震吊架,包括吊架、固定设于吊架上的风机、固定设于风机两端的消声器组件、设于吊架上方的六组土建预埋钢板、固定设于土建预埋钢板上的吊耳、设于风机上且两端固定设于吊耳上的第一防护钢丝绳、一端固定设于消声器组件上另一端固定设于吊耳上的第二防护钢丝绳、用于第一防护钢丝绳与吊耳固定的第一钢丝绳夹、用于第二防护钢丝绳两端固定的第二钢丝绳夹;本发明主要用于地铁隧道射流风机吊装,具体的说是采用扁担梁结构的一种吊架,具有8度抗震防烈度,同时有两个第一防护钢丝绳和第二防护钢丝绳用于风机本体和消声器,起到多重防护作用,防止射流风机掉落。


