授权公布号:CN207960988U
一种地铁防火风机
失效
申请
2018-02-05
申请公布
1970-01-01
授权
2018-10-12
预估到期
2028-02-05
| 申请号 | CN201820193777.8 |
| 申请日 | 2018-02-05 |
| 授权公布号 | CN207960988U |
| 授权公告日 | 2018-10-12 |
| 分类号 | F04D25/06;F04D29/00;F04D27/00 |
| 分类 | 液体变容式机械;液体泵或弹性流体泵; |
| 申请人名称 | 福建东亚环保科技股份有限公司 |
| 申请人地址 | 福建省福州市闽侯县闽侯经济技术开发区二期南中路8号 |
专利法律状态
2024-02-20
专利权的终止
状态信息
未缴年费专利权终止;IPC(主分类):F04D25/06;申请日:20180205;授权公告日:20181012
2018-10-12
授权
状态信息
授权
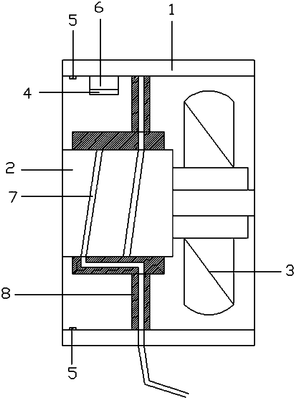
摘要
一种地铁防火风机,包括壳体、双向旋转电机和叶片,所述双向旋转电机通过电机支架固定在所述壳体内,所述叶片连接于所述双向旋转电机的转轴上;还包括烟气传感器、雾化喷头和控制器,所述雾化喷头连接有水管;所述控制器分别与所述双向旋转电机和所述雾化喷头相连,所述烟气传感器与所述控制器通过信号连接;本实用新型在通过雾化喷头,可以湿润空气,从而抑制火势的蔓延。


