授权公布号:CN212744396U
一种轴流风机
有效
申请
2020-06-10
申请公布
1970-01-01
授权
2021-03-19
预估到期
2030-06-10
| 申请号 | CN202021057701.6 |
| 申请日 | 2020-06-10 |
| 授权公布号 | CN212744396U |
| 授权公告日 | 2021-03-19 |
| 分类号 | F04D29/52;F04D19/00;F04D25/08;F04D29/00 |
| 分类 | 液体变容式机械;液体泵或弹性流体泵; |
| 申请人名称 | 福建东亚环保科技股份有限公司 |
| 申请人地址 | 福建省福州市闽侯县甘蔗街道闽侯县经济技术开发区南中路8号 |
专利法律状态
2021-03-19
授权
状态信息
授权
摘要
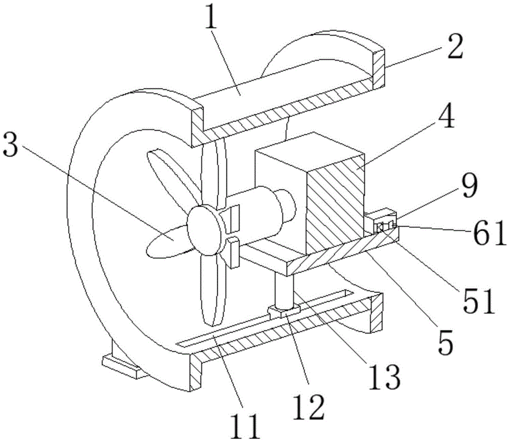
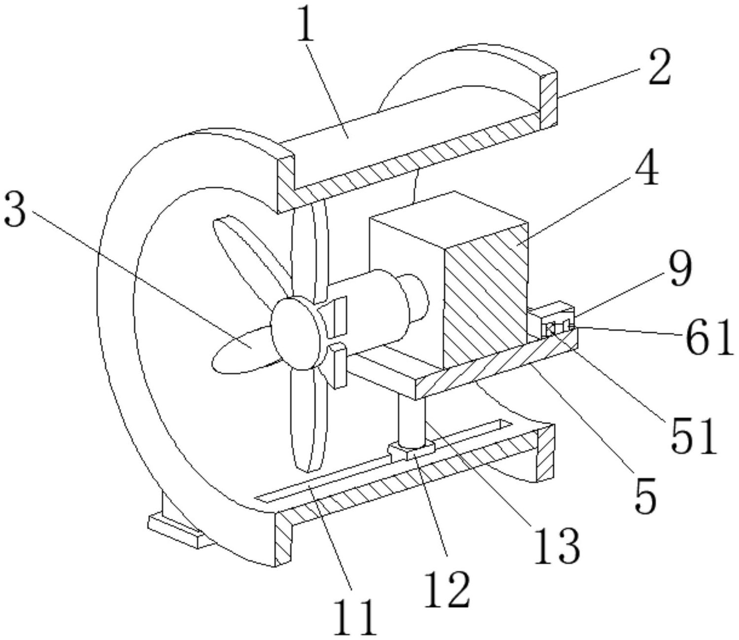
本实用新型公开了轴流风机技术领域一种轴流风机,包括壳体、扇叶以及带动扇叶转动的电机,壳体上开设有直线滑条,电机安装在安装板上,直线滑条上滑动并固定连接有滑块,滑块通过连接杆与安装板固接,滑块移动至直线滑条一端时扇叶位于壳体外部,滑块移动至直线滑条另一端时电机位于壳体外部,本实用新型电机和扇叶安装在安装板上,安装板上通过滑块在直线滑条上直线移动,从而使得电机和扇叶分别从壳体的两个开口伸出,从而有利于对电机和扇叶进行清洗。


