授权公布号:CN215137909U
一种可有效循环过滤的废气处理设备
有效
申请
2021-04-19
申请公布
1970-01-01
授权
2021-12-14
预估到期
2031-04-19
| 申请号 | CN202120789988.X |
| 申请日 | 2021-04-19 |
| 授权公布号 | CN215137909U |
| 授权公告日 | 2021-12-14 |
| 分类号 | B01D46/04;B01D46/02;B01D46/00;B01D46/44 |
| 分类 | 一般的物理或化学的方法或装置; |
| 申请人名称 | 福建东亚环保科技股份有限公司 |
| 申请人地址 | 福建省福州市闽侯县甘蔗街道闽侯县经济技术开发区南中路8号综合车间3幢 |
专利法律状态
2021-12-14
授权
状态信息
授权
摘要
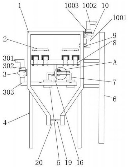
本实用新型公开了一种可有效循环过滤的废气处理设备,包括除尘器筒体,所述除尘器筒体上分别设置有进气机构、支撑架、攀爬梯、出气机构、电磁脉冲阀和排尘通道,且除尘器筒体内壁固定有固定板,所述固定板上均匀设置有两组相对称的若干排气孔,且排气孔中穿插嵌合有第二连接管。该实用新型通过两组电磁脉冲阀的切换工作状态,让固定板上等分的两处位置的除尘布袋被电磁脉冲阀循环吹扫,避免电磁脉冲阀冲击气流和废气进入除尘器筒体的气流冲撞而影响废气处理的效果;同时装置通过气压传感器感应到第一出气管的排出气流转态而智能化促使相应的电磁脉冲阀工作,让废气处理的效率更高,满足于废气处理设备的持续性过滤工作需求。


