授权公布号:CN211190085U
一种带回水循环系统的造粒塔
有效
申请
2019-11-29
申请公布
1970-01-01
授权
2020-08-07
预估到期
2029-11-29
| 申请号 | CN201922097349.2 |
| 申请日 | 2019-11-29 |
| 授权公布号 | CN211190085U |
| 授权公告日 | 2020-08-07 |
| 分类号 | B01J2/04;F22D1/32;E03B1/04 |
| 分类 | 一般的物理或化学的方法或装置; |
| 申请人名称 | 新洋丰农业科技股份有限公司 |
| 申请人地址 | 湖北省荆门市月亮湖北路附7号 |
专利法律状态
2020-08-07
授权
状态信息
授权
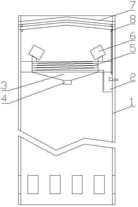
摘要
一种带回水循环系统的造粒塔,一组轴流风机(6)环形阵列在熔融壳体(3)上方,塔体(1)下部开有一组进气口,塔体(1)顶部设有顶盖(7),顶盖(7)由上下两层相互错开的栅格板组成,且上下两层栅格板之间设有气流通道,栅格板的各栅格条分别为中间高两端低的V形条,两个栅格板底部分别设有一圈集水槽(8),蒸汽盘管(5)的出气端和两个集水槽(8)的排水口分别与回水收集箱(2)相通。本实用新型优点是:结构简单合理,通过在造粒塔高位对回水进行收集后再对用于其它生产线供水,节省高压泵的使用,同时对造粒产生的蒸汽进行回收,极大的降低了生产成本。


