授权公布号:CN219018282U
板房式储能升压一体机
有效
申请
2022-12-30
申请公布
1970-01-01
授权
2023-05-12
预估到期
2032-12-30
| 申请号 | CN202223596223.8 |
| 申请日 | 2022-12-30 |
| 授权公布号 | CN219018282U |
| 授权公告日 | 2023-05-12 |
| 分类号 | H02B7/06;H02B1/56 |
| 分类 | 发电、变电或配电; |
| 申请人名称 | 上能电气股份有限公司 |
| 申请人地址 | 江苏省无锡市惠山经济开发区和惠路6号 |
专利法律状态
2023-05-12
授权
状态信息
授权
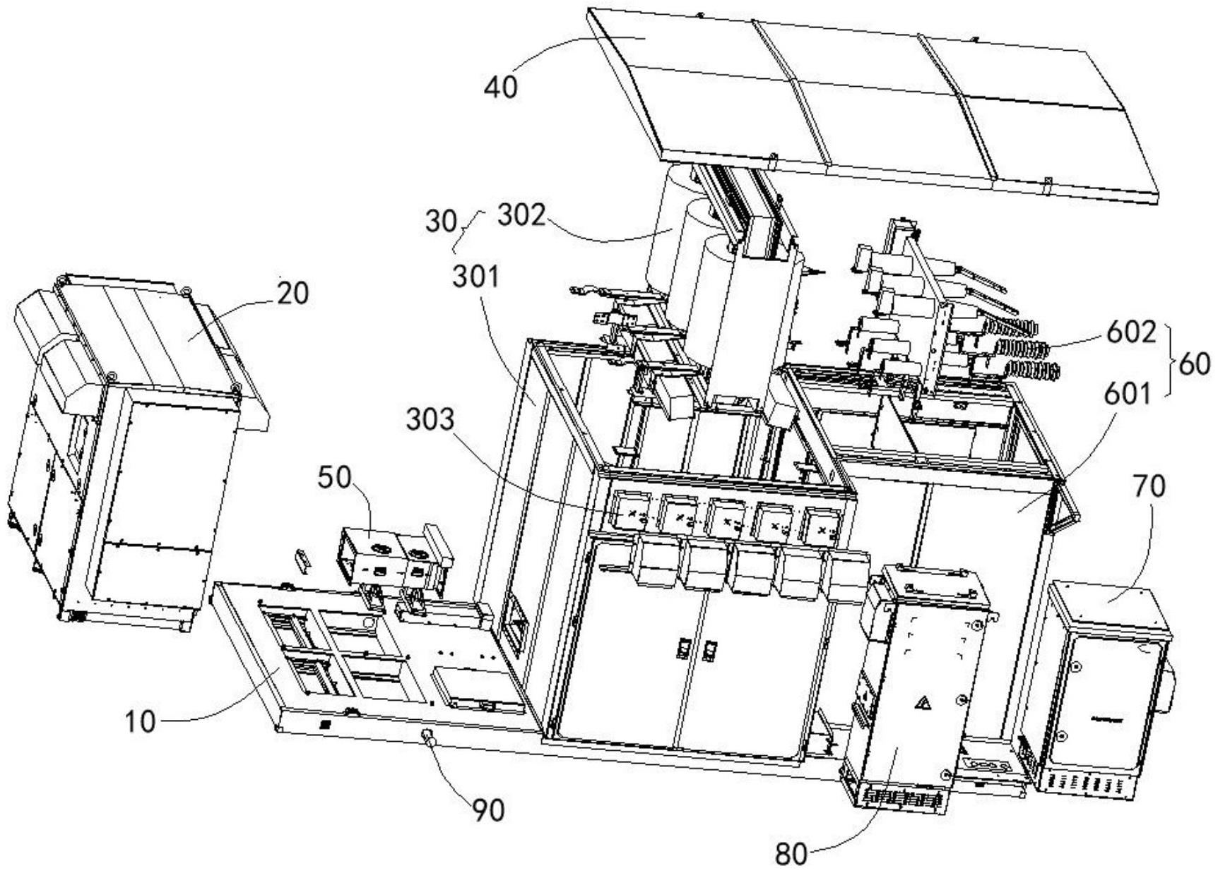
摘要
本实用新型适用于储能一体机技术领域,提供了一种板房式储能升压一体机,包括:底座座;以及设置在底座上的PCS机柜、变压器室、中压开关室和通讯柜;所述变压器室包括第一板房箱体和设置在所述第一板房箱体内的变压设备;所述中压开关室包括第二板房箱体和设置在所述第二板房箱体内的开关设备;所述PCS机柜、所述变压设备、所述开关设备依次连接,所述PCS机柜与所述通讯柜相连。将PCS机柜、变压器室、中压开关室和通讯柜都安装在底座上,移动底座即可以完成PCS机柜、变压器室、中压开关室和通讯柜的整体移动。且PCS机柜、通讯柜、隔离变压器柜外置,散热性能好。


