授权公布号:CN114336334B
一种应用于光伏逆变器的直流配电单元及光伏逆变器
有效
申请
2022-01-25
申请公布
2022-04-12
授权
2023-08-25
预估到期
2042-01-25
| 申请号 | CN202210088189.9 |
| 申请日 | 2022-01-25 |
| 申请公布号 | CN114336334A |
| 申请公布日 | 2022-04-12 |
| 授权公布号 | CN114336334B |
| 授权公告日 | 2023-08-25 |
| 分类号 | H02B1/30;H02B1/32;H02J3/38;H02M7/48 |
| 分类 | 发电、变电或配电; |
| 申请人名称 | 上能电气股份有限公司 |
| 申请人地址 | 江苏省无锡市惠山经济开发区和惠路6号 |
专利法律状态
2023-08-25
授权
状态信息
授权
2022-04-12
公布
状态信息
公布
摘要
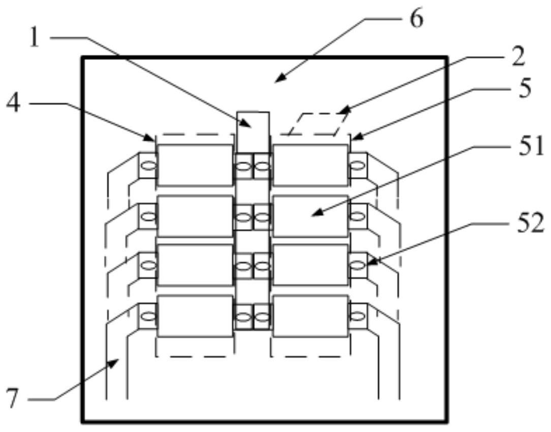
本发明适用于逆变器技术领域,提供了一种应用于光伏逆变器的直流配电单元及光伏逆变器,包括汇总正排、汇总负排、直流霍尔元件以及对称设置的第一列直流熔丝和第二列直流熔丝,汇总正排设置在第一列直流熔丝与第二列直流熔丝之间的一端部,且向第一列直流熔丝与第二列直流熔丝之间延伸,汇总负排设置在第二列直流熔丝的下侧,直流霍尔元件对应连接第一列直流熔丝和第二列直流熔丝上的每个直流熔丝,且第一列直流熔丝与第二列直流熔丝水平对应连接后平行于装配直流配电单元的机柜进行设置。本申请能够缩减机柜的宽度和机柜的深度,降低了整个机柜的尺寸,节省了加工成本与运输成本。


