授权公布号:CN214915138U
一种搅拌器
有效
申请
2020-09-16
申请公布
1970-01-01
授权
2021-11-30
预估到期
2030-09-16
| 申请号 | CN202022033526.3 |
| 申请日 | 2020-09-16 |
| 授权公布号 | CN214915138U |
| 授权公告日 | 2021-11-30 |
| 分类号 | B01F7/18 |
| 分类 | 一般的物理或化学的方法或装置; |
| 申请人名称 | 广州保赐利化工有限公司 |
| 申请人地址 | 广东省广州市从化经济开发区太源路11号 |
专利法律状态
2021-11-30
授权
状态信息
授权
摘要
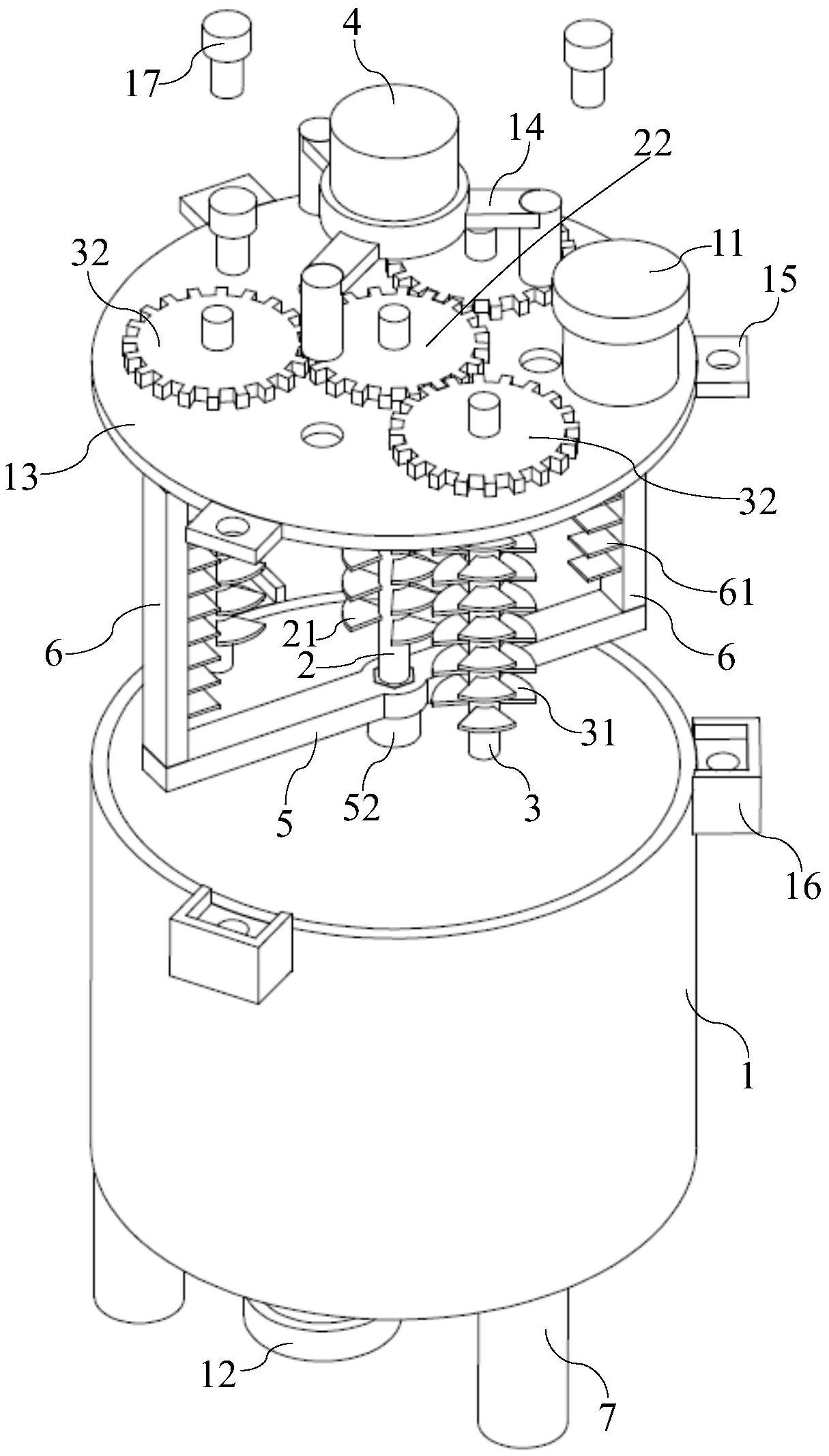
本实用新型涉及搅拌装置技术领域,公开了一种搅拌器,其包括:搅拌罐,其顶部设有进料口、底部设有出料口;第一搅拌轴,其设于搅拌罐内,第一搅拌轴上设有第一搅拌叶;及多个第二搅拌轴,多个第二搅拌轴均设于搅拌罐内,多个第二搅拌轴均与第一搅拌轴平行设置且均匀分散在第一搅拌轴的周围,第二搅拌轴上设有第二搅拌叶;将物料如混合液体经进料口倾倒进搅拌罐内,第一搅拌轴旋转以使第一搅拌叶对混合液体进行搅动、切削,多个第二搅拌轴旋转以使第二搅拌叶对混合液体进行搅动、切削,搅拌完成后的混合液体再经出料口排出;本实用新型设置第一搅拌轴和多个第二搅拌轴协同进行搅拌,搅拌效果好,能使物料如混合液体内的成分充分混合。


