授权公布号:CN212225357U
DPF再生装置
有效
申请
2019-12-11
申请公布
1970-01-01
授权
2020-12-25
预估到期
2029-12-11
| 申请号 | CN201922209696.X |
| 申请日 | 2019-12-11 |
| 授权公布号 | CN212225357U |
| 授权公告日 | 2020-12-25 |
| 分类号 | F01N3/023 |
| 分类 | 一般机器或发动机;一般的发动机装置;蒸汽机; |
| 申请人名称 | 江苏可兰素环保科技有限公司 |
| 申请人地址 | 江苏省南京市溧水经济开发区沂湖路8号 |
专利法律状态
2020-12-25
授权
状态信息
授权
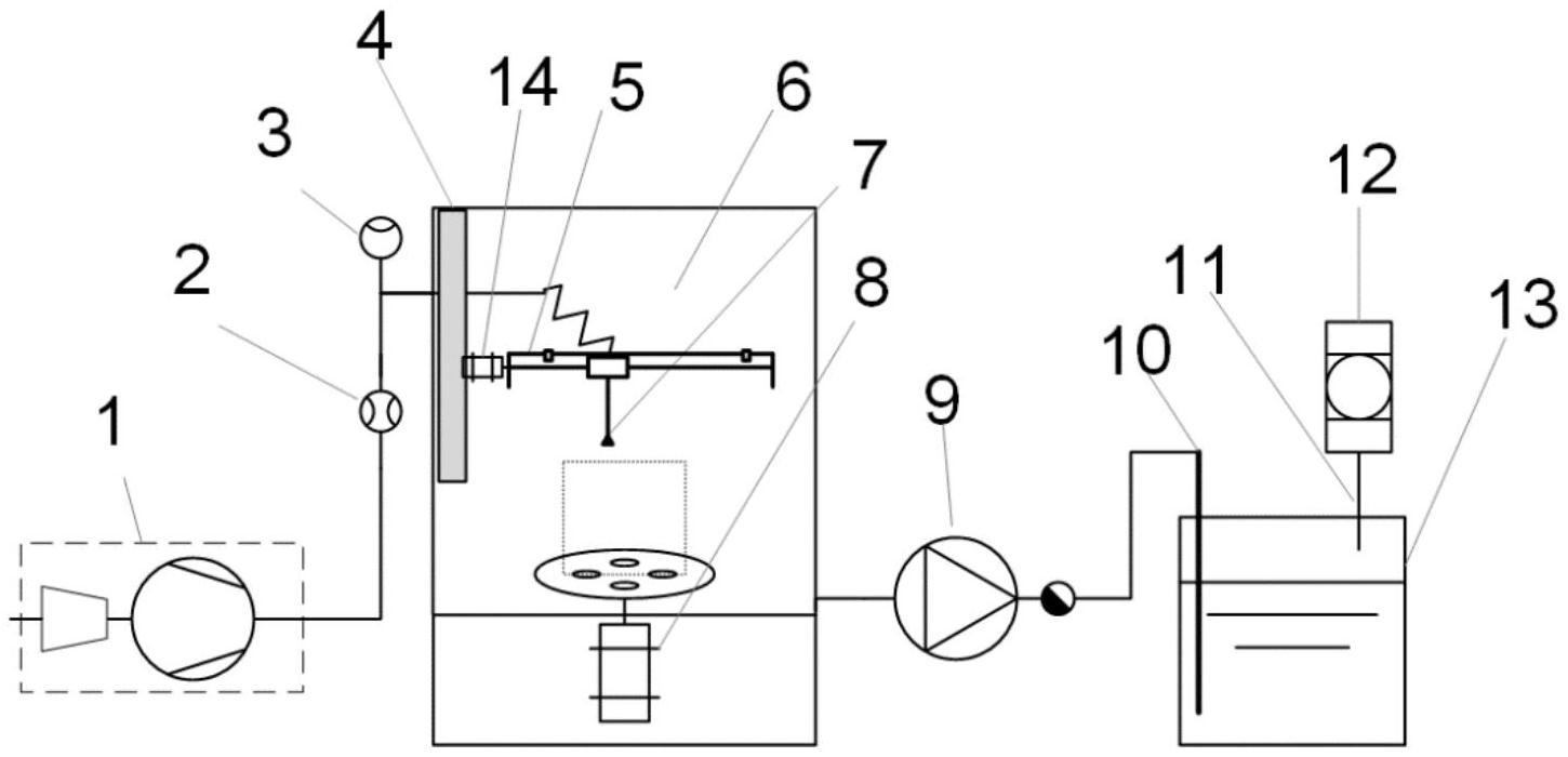
摘要
本实用新型公开了一种DPF再生装置,包括:空气增压系统、吹扫系统以及集尘系统;所述吹扫系统包括横杆、用于吹扫的风头以及用于放置DPF载体的台盘;所述风头位于台盘上方,风头通过第一驱动装置的控制在横杆上进行左右运动;所述颗粒物经风机抽出再生柜体后送入吸收池进行捕捉。本实用新型提供的DPF的再生装置,再生时间短,安全系数高,结构简单,控制简单方便。


