授权公布号:CN217994225U
用于汽车座椅面套固定的插入式卡扣装置和汽车座椅
有效
申请
2022-07-06
申请公布
1970-01-01
授权
2022-12-09
预估到期
2032-07-06
| 申请号 | CN202221746565.0 |
| 申请日 | 2022-07-06 |
| 授权公布号 | CN217994225U |
| 授权公告日 | 2022-12-09 |
| 分类号 | B60N2/58 |
| 分类 | 一般车辆; |
| 申请人名称 | 明天塑料(上海)有限公司 |
| 申请人地址 | 上海市浦东新区宣桥镇宣竹路127号 |
专利法律状态
2022-12-09
授权
状态信息
授权
摘要
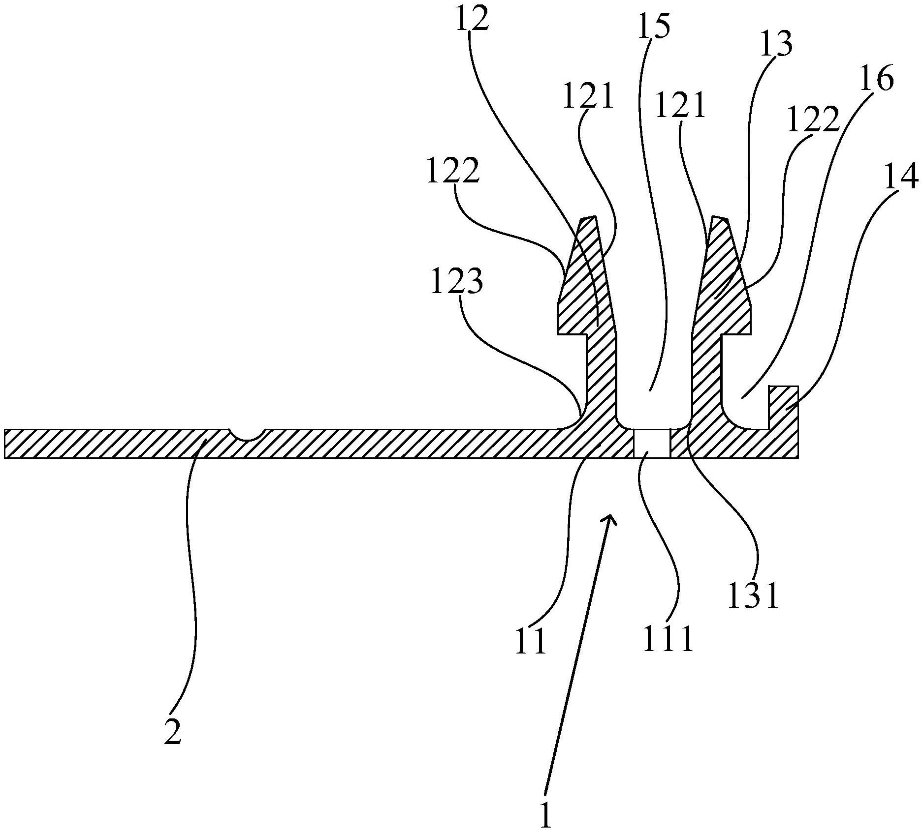
本实用新型公开了一种用于汽车座椅面套固定的插入式卡扣装置和汽车座椅,插入式卡扣装置包括面套缝合件和插入件,插入件包括安装座、左侧卡扣部、右侧卡扣部和弯折限位部,左侧卡扣部和右侧卡扣部间隔设置并连接于安装座的顶部,左侧卡扣部和右侧卡扣部均用于卡扣连接在座椅骨架上,左侧卡扣部和右侧卡扣部之间形成有间隙,安装座上具有卡扣孔,卡扣孔与间隙相连通,座椅骨架穿过间隙并卡扣连接于卡扣孔,弯折限位部连接于安装座的右端并向上弯折,以使弯折限位部、安装座和右侧卡扣部之间形成有用于限制座椅骨架移动的卡扣腔。实现安装连接非常方便,有效加强了插入式卡扣装置的连接强度;保证了插入式卡扣装置与座椅骨架连接更加稳定可靠。


