授权公布号:CN217876894U
流滴母料快速排水干燥装置
有效
申请
2022-07-18
申请公布
1970-01-01
授权
2022-11-22
预估到期
2032-07-18
| 申请号 | CN202221846405.3 |
| 申请日 | 2022-07-18 |
| 授权公布号 | CN217876894U |
| 授权公告日 | 2022-11-22 |
| 分类号 | F26B11/14;F26B25/04;F26B25/00;F26B3/36;F26B25/22;F26B25/02 |
| 分类 | 干燥; |
| 申请人名称 | 玉溪市旭日塑料有限责任公司 |
| 申请人地址 | 云南省玉溪市高新技术产业开发区九龙片区龙池路10号 |
专利法律状态
2022-11-22
授权
状态信息
授权
摘要
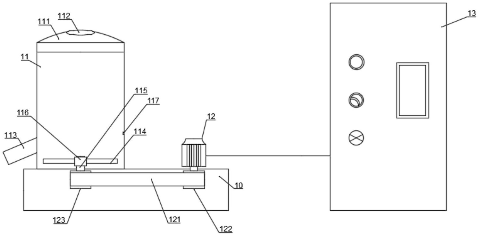
本申请公开了一种流滴母料快速排水干燥装置,包括:底座、搅拌筒、锅盖、出料管、搅拌桨、搅拌轴、安装座;搅拌筒、热电偶、电机间隔设置于底座;搅拌桨容纳设置于搅拌筒内;搅拌桨安装于搅拌轴上;搅拌轴与从动带轮驱动连接;电机驱动轴与主动带轮驱动连接;主动带轮与从动带轮通过皮带驱动连接。该装置利用搅拌桨带动母料在搅拌筒中旋转搅动,通过母料间的摩擦产生热量,使母料升温,在高温条件下母料中的水分快速蒸发而进行排水干燥。


