授权公布号:CN211671665U
一种预防土壤传病的地膜
有效
申请
2020-01-13
申请公布
1970-01-01
授权
2020-10-16
预估到期
2030-01-13
| 申请号 | CN202020067906.6 |
| 申请日 | 2020-01-13 |
| 授权公布号 | CN211671665U |
| 授权公告日 | 2020-10-16 |
| 分类号 | A01G13/02 |
| 分类 | 农业;林业;畜牧业;狩猎;诱捕;捕鱼; |
| 申请人名称 | 玉溪市旭日塑料有限责任公司 |
| 申请人地址 | 云南省玉溪市高新技术产业开发区九龙片区 |
专利法律状态
2020-10-16
授权
状态信息
授权
摘要
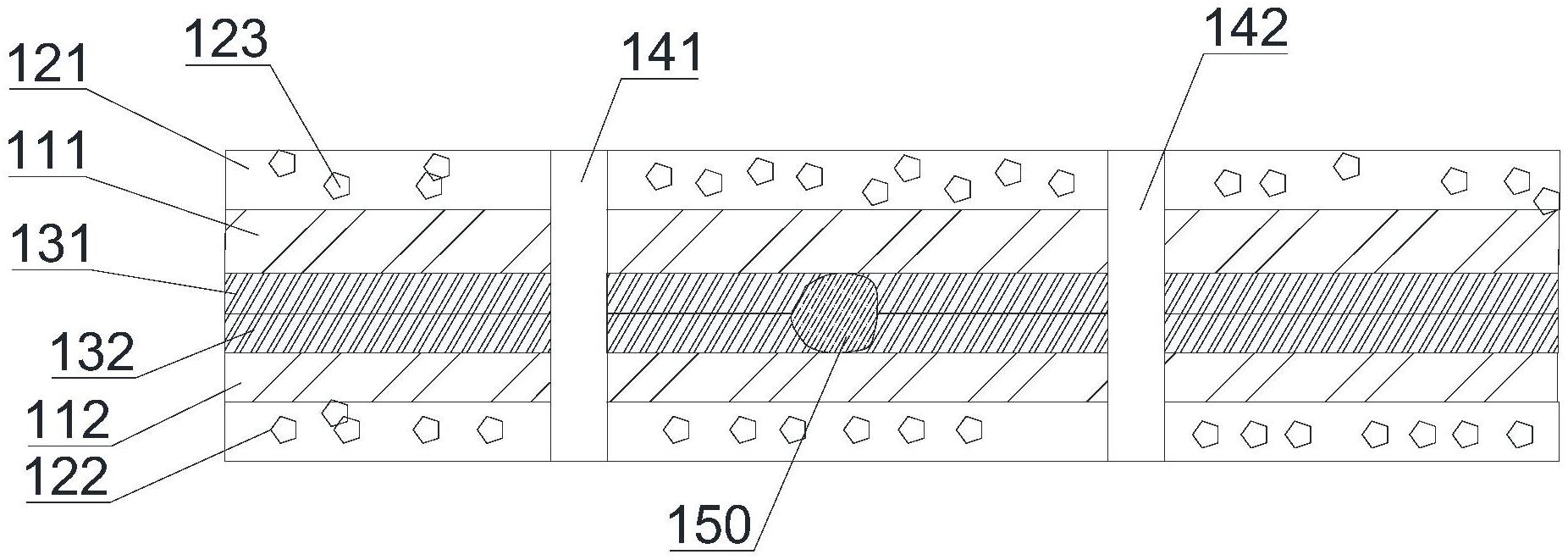
本申请公开了一种预防土壤传病的地膜,包括:通孔、第一基层膜、第二基层膜、粘接剂层、光滑层和试剂凸块;第一基层膜和第二基层膜的相对面上均设置粘接剂层,试剂凸块夹设于第一基层膜和第二基层膜之间,并容纳于粘接剂层内;第一基层膜和第二基层膜的外表面上均设置光滑层;试剂凸块的两侧分别设置沿一种预防土壤传病的地膜纵向贯通一种预防土壤传病的地膜的通孔。通过在一种预防土壤传病的地膜上设置打孔区并在打孔区的两相对侧设置横向拉伸区,并在打孔区内,各相邻孔间设置试剂凸块,胶黏的两层基层膜之间夹设试剂凸块,试剂凸块为吸附剂凸块时从而利用一种预防土壤传病的地膜贴近地面的优势。


