授权公布号:CN218353652U
一种银黑白三色地膜
有效
申请
2022-09-14
申请公布
1970-01-01
授权
2023-01-24
预估到期
2032-09-14
| 申请号 | CN202222432464.2 |
| 申请日 | 2022-09-14 |
| 授权公布号 | CN218353652U |
| 授权公告日 | 2023-01-24 |
| 分类号 | A01G13/02;A01C23/00;B32B27/06;B32B27/32;B32B3/08;B32B33/00 |
| 分类 | 农业;林业;畜牧业;狩猎;诱捕;捕鱼; |
| 申请人名称 | 玉溪市旭日塑料有限责任公司 |
| 申请人地址 | 云南省玉溪市高新技术产业开发区九龙片区龙池路10号 |
专利法律状态
2023-01-24
授权
状态信息
授权
摘要
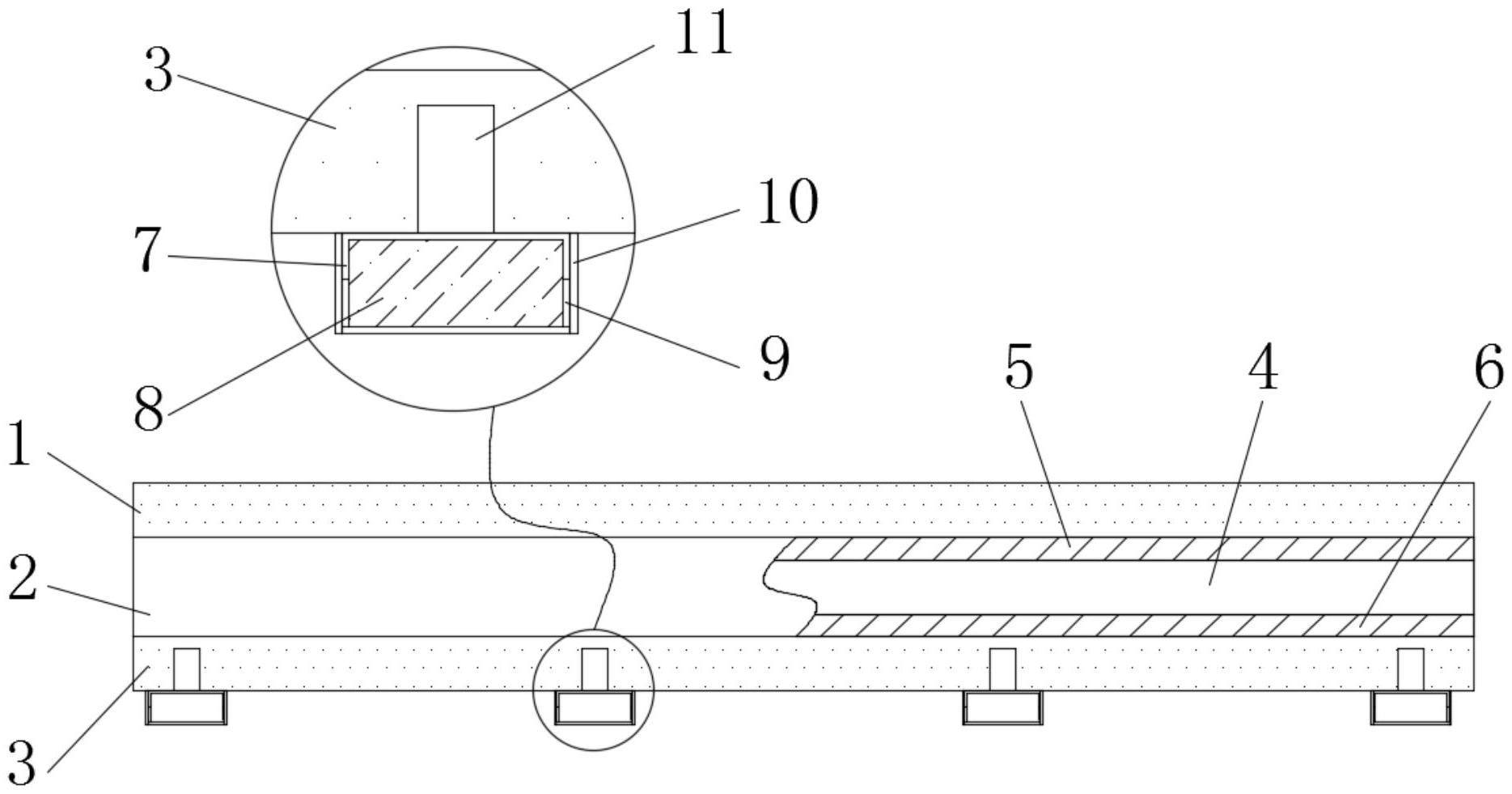
本实用新型公开了一种银黑白三色地膜,包括上层透明膜、银黑地膜和下层透明膜,所述上层透明膜的底面复合有银黑地膜,且银黑地膜的底面复合有下层透明膜;本实用新型中,通过在下层透明膜表面等距设置多个配重条,一方面能够增加地膜自身的配重,使得地膜能够与土壤完美贴附,另一方面相邻两个配重条间距相同,使得多个配重条能够作为种植间距引导结构,方便进行地膜表面的等间距开孔,保障种植的合理性,此过程中,由于配重条的内部开设容纳腔,且容纳腔内注入液态肥,当地膜铺设完成时,配重条侧面粘接的可降解膜在闷热潮湿环境下快速溶解脱附,使得液态肥穿过通孔渗入土壤,实现液态肥的自主释放,无需后续人为施肥,节省人工。


