授权公布号:CN220379191U
一种塑料螺塞
有效
申请
2023-08-08
申请公布
1970-01-01
授权
2024-01-23
预估到期
2033-08-08
| 申请号 | CN202322124078.1 |
| 申请日 | 2023-08-08 |
| 授权公布号 | CN220379191U |
| 授权公告日 | 2024-01-23 |
| 分类号 | F16L55/11 |
| 分类 | 工程元件或部件;为产生和保持机器或设备的有效运行的一般措施;一般绝热; |
| 申请人名称 | 公元股份有限公司 |
| 申请人地址 | 浙江省台州市黄岩经济开发区埭西路2号 |
专利法律状态
2024-01-23
授权
状态信息
授权
摘要
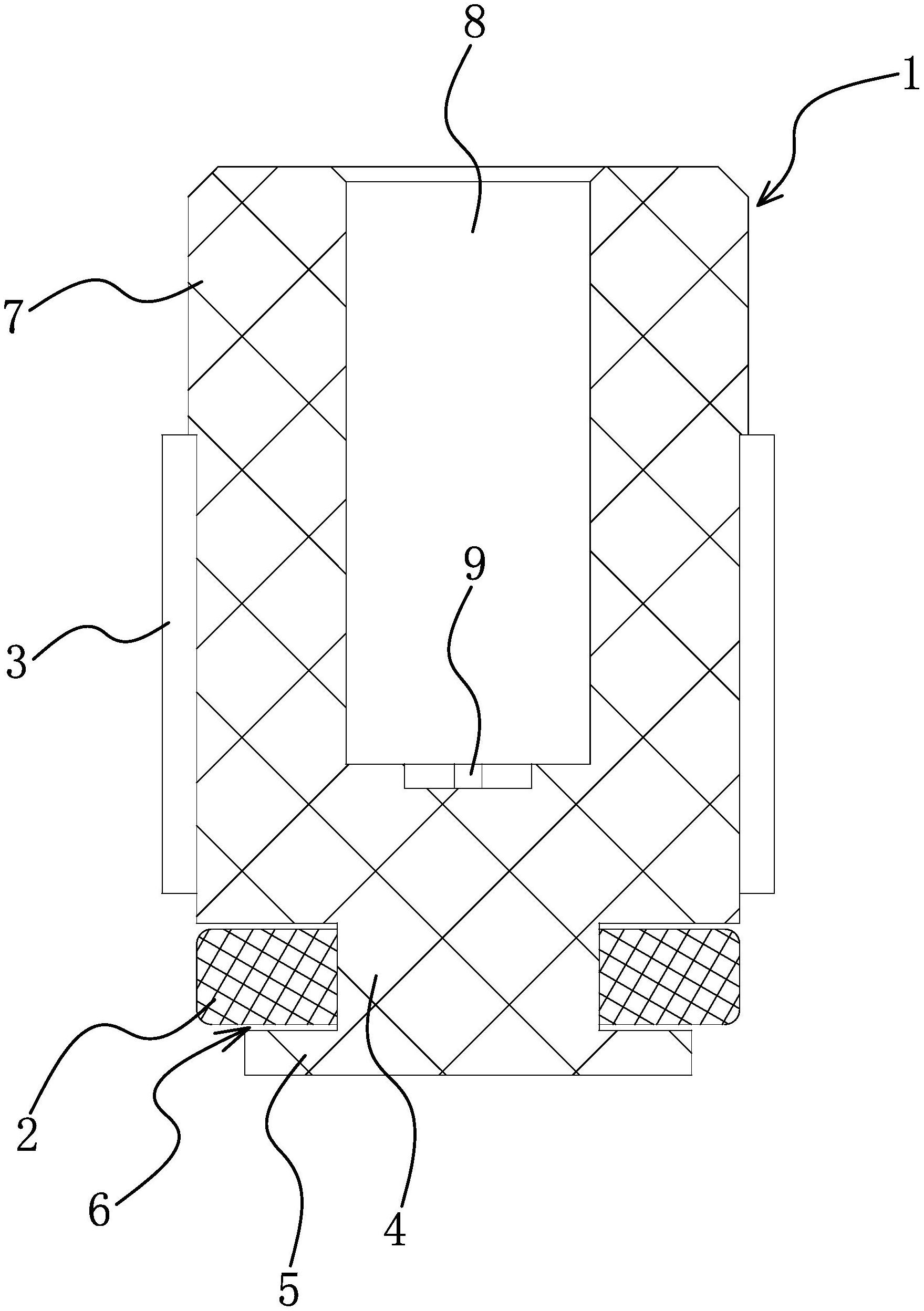
本实用新型提供了一种塑料螺塞,属于螺塞技术领域。它解决了现有的密封垫容易被氧化腐蚀的问题。本塑料螺塞,包括密封垫和由塑料材质制成的螺塞主体,螺塞主体的下部的外周面具有外螺纹,螺塞主体的下端面具有向下凸起的安装柱,安装柱的下端具有呈环形的限位凸缘,限位凸缘的上表面与螺塞主体的下端面之间形成有安装槽,密封垫位于安装槽内并套设在安装柱上。本塑料螺塞的密封垫是位于通道内的,并且螺塞主体与通道螺纹连接有也形成一定的密封,使得密封垫基本与外界隔离,密封垫不易被氧化和腐蚀,显著延长的密封垫的使用寿命。


