授权公布号:CN114476490B
一种胶暗箱生产设备的上料结构
有效
申请
2022-03-08
申请公布
2022-05-13
授权
2023-12-26
预估到期
2042-03-08
| 申请号 | CN202210227767.2 |
| 申请日 | 2022-03-08 |
| 申请公布号 | CN114476490A |
| 申请公布日 | 2022-05-13 |
| 授权公布号 | CN114476490B |
| 授权公告日 | 2023-12-26 |
| 分类号 | B65G15/00;B65G47/16;B65G47/26;B65G47/22 |
| 分类 | 输送;包装;贮存;搬运薄的或细丝状材料; |
| 申请人名称 | 公元股份有限公司 |
| 申请人地址 | 浙江省台州市黄岩经济开发区埭西路2号 |
专利法律状态
2023-12-26
授权
状态信息
授权
2022-05-13
公布
状态信息
公布
摘要
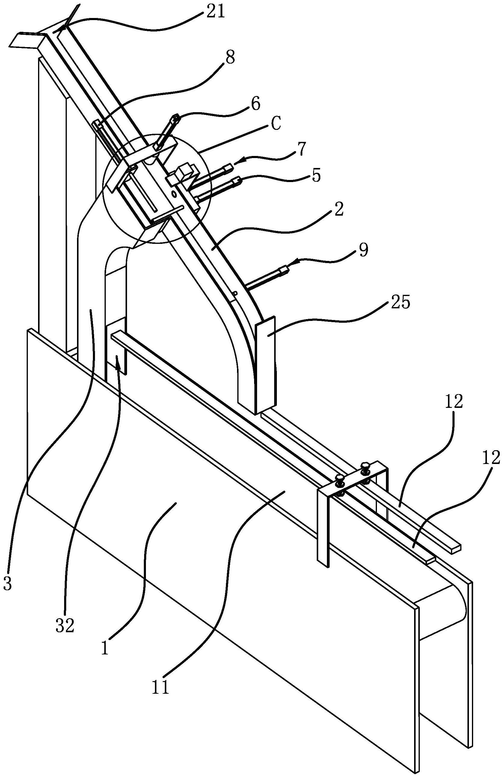
本发明提供了一种胶暗箱生产设备的上料结构,属于机械设备技术领域。它解决了现有胶暗箱生产设备需要手动对胶暗箱的开口朝向进行矫正,费时费力的问题。本胶暗箱生产设备的上料结构,包括机架和输送带,机架在输送带的上方设有倾斜设置的下料通道和竖直设置的翻料通道,下料通道的上端为进料口,下端为落料口,翻料通道的上端与下料通道相连通,机架在下料通道的上方还设有检测装置,机架在下料通道的下端处设有绊料件,机架上还设有推料件,翻料通道内靠近落料口所在一侧具有朝向进料口所在一侧凸出的阻挡部。本胶暗箱生产设备的上料结构无需手动进行调整排序,高效省力。


