授权公布号:CN220204698U
一种截止阀的密封结构
有效
申请
2023-08-08
申请公布
1970-01-01
授权
2023-12-19
预估到期
2033-08-08
| 申请号 | CN202322123304.4 |
| 申请日 | 2023-08-08 |
| 授权公布号 | CN220204698U |
| 授权公告日 | 2023-12-19 |
| 分类号 | F16K1/36;F16K1/42;F16K1/46 |
| 分类 | 工程元件或部件;为产生和保持机器或设备的有效运行的一般措施;一般绝热; |
| 申请人名称 | 公元股份有限公司 |
| 申请人地址 | 浙江省台州市黄岩经济开发区埭西路2号 |
专利法律状态
2023-12-19
授权
状态信息
授权
摘要
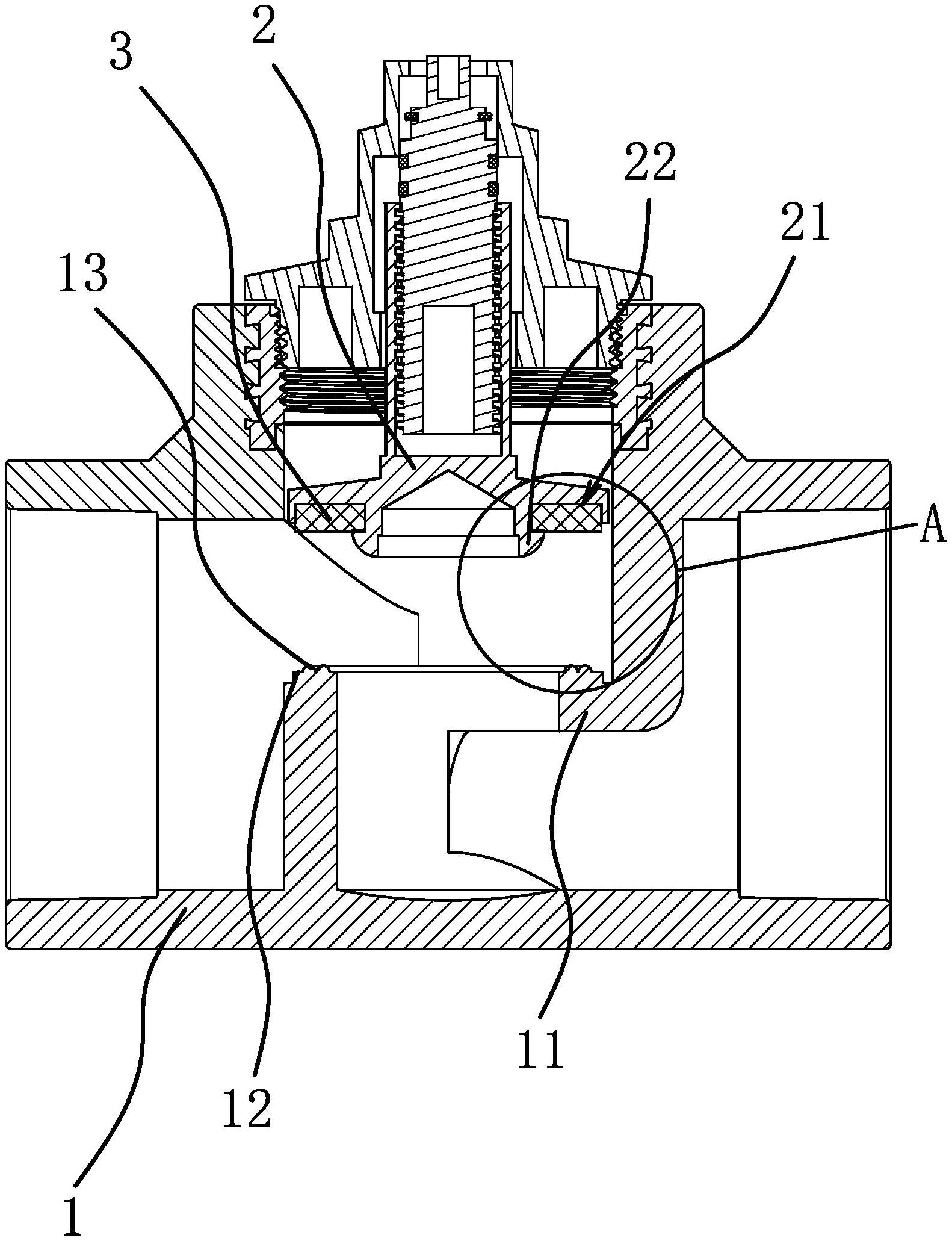
本实用新型提供了一种截止阀的密封结构,属于截止阀技术领域。它解决了现有的密封结构在保证长期密封效果的同时增加了截止阀的加工成本的问题。本截止阀的密封结构,截止阀包括阀体和阀瓣,阀瓣穿设在阀体内并沿阀体竖向移动,阀体内形成阀座,阀座的上端具有呈环形的密封面,阀瓣的下端连接有柔性密封垫,本密封结构包括密封面上向上凸起形成至少两条呈环形的密封筋条,且相邻两个密封筋条之间具有让位间隙,阀瓣向下移动至柔性密封垫压紧在密封筋条上。本截止阀的密封结构降低了截止阀自身的加工成本,并且能保证长期使用的密封效果。


