授权公布号:CN114215970B
一种增强增韧复合管的连接适配器
有效
申请
2021-12-17
申请公布
2022-03-22
授权
2024-03-15
预估到期
2041-12-17
| 申请号 | CN202111552575.0 |
| 申请日 | 2021-12-17 |
| 申请公布号 | CN114215970A |
| 申请公布日 | 2022-03-22 |
| 授权公布号 | CN114215970B |
| 授权公告日 | 2024-03-15 |
| 分类号 | F16L9/14;F16L47/14;F16L23/00;F16L57/02;F16J15/10 |
| 分类 | 工程元件或部件;为产生和保持机器或设备的有效运行的一般措施;一般绝热; |
| 申请人名称 | 公元股份有限公司 |
| 申请人地址 | 浙江省台州市黄岩经济开发区埭西路2号 |
专利法律状态
2024-03-15
授权
状态信息
授权
2022-03-22
公布
状态信息
公布
摘要
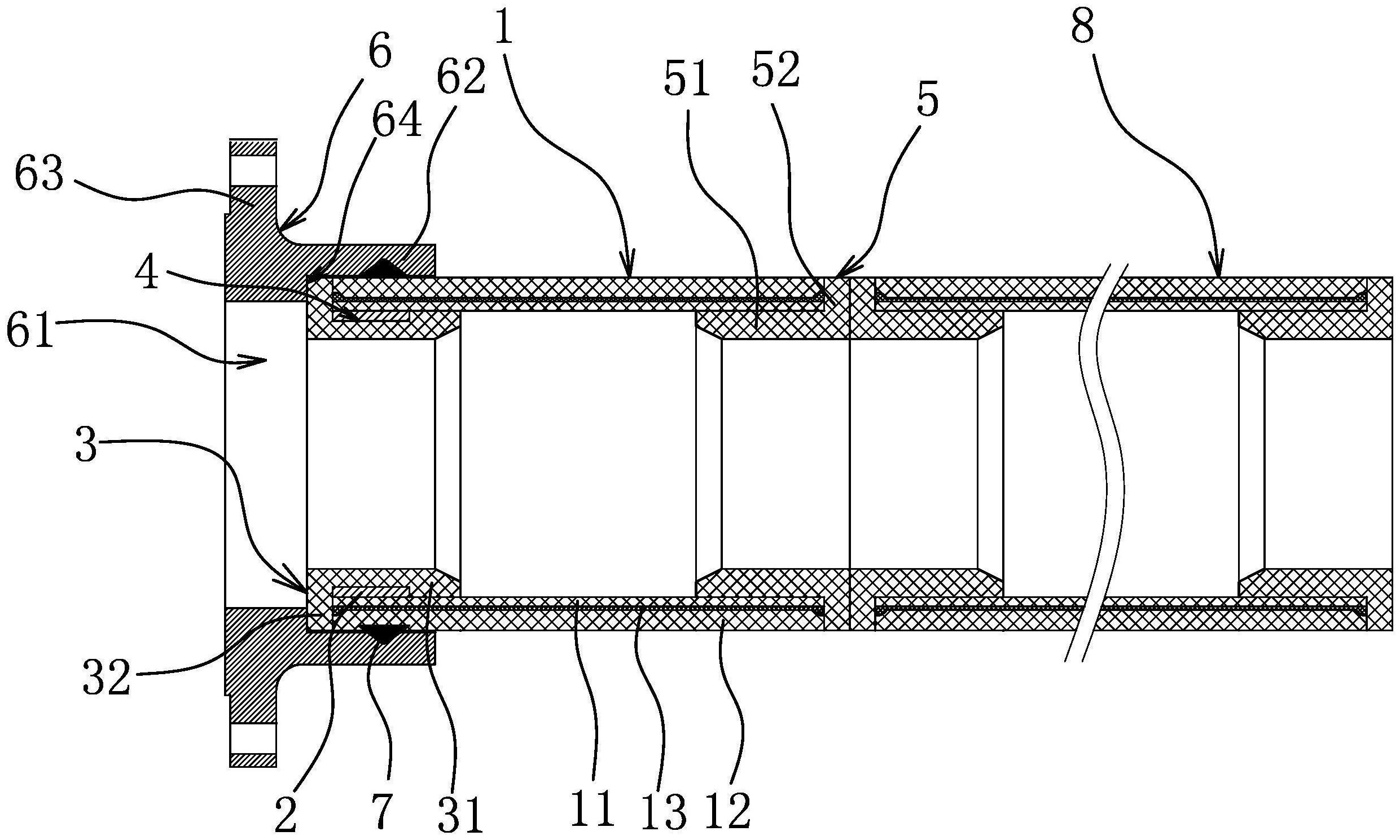
本发明提供了一种增强增韧复合管的连接适配器,属于管道连接技术领域。它解决了现有塑料管与金属管之间的连接存在连接可靠性不足的问题。本增强增韧复合管的连接适配器包括管体和金属环,所述管体的一端设有封口环一,该封口环一包括呈筒状的内衬部一和与管体端面相连接的主环体一,内衬部一插接在管体的端口内并与管体的内周壁相连接,内衬部一与管体的内周壁之间形成密闭的且沿管体周向设置的环形容置腔,金属环固定设置在环形容置腔内。本发明能使管道之间的连接具有可靠性高、施工方便、成本低等优点。


