授权公布号:CN113532844B
一种球阀扭力和耐久性检测装置
有效
申请
2021-07-16
申请公布
2021-10-22
授权
2024-02-06
预估到期
2041-07-16
| 申请号 | CN202110806006.8 |
| 申请日 | 2021-07-16 |
| 申请公布号 | CN113532844A |
| 申请公布日 | 2021-10-22 |
| 授权公布号 | CN113532844B |
| 授权公告日 | 2024-02-06 |
| 分类号 | G01M13/003;G01L5/00;F16K5/06;F16K31/122 |
| 分类 | 测量;测试; |
| 申请人名称 | 公元股份有限公司 |
| 申请人地址 | 浙江省台州市黄岩经济开发区埭西路2号 |
专利法律状态
2024-02-06
授权
状态信息
授权
2022-05-10
著录事项变更
状态信息
著录事项变更;IPC(主分类):G01M13/003;变更事项:申请人;变更前:永高股份有限公司;变更后:公元股份有限公司;变更事项:地址;变更前:318020 浙江省台州市黄岩经济开发区埭西路2号;变更后:318020 浙江省台州市黄岩经济开发区埭西路2号
2021-11-09
实质审查的生效
状态信息
实质审查的生效;IPC(主分类):G01M13/003;申请日:20210716
2021-10-22
公布
状态信息
公布
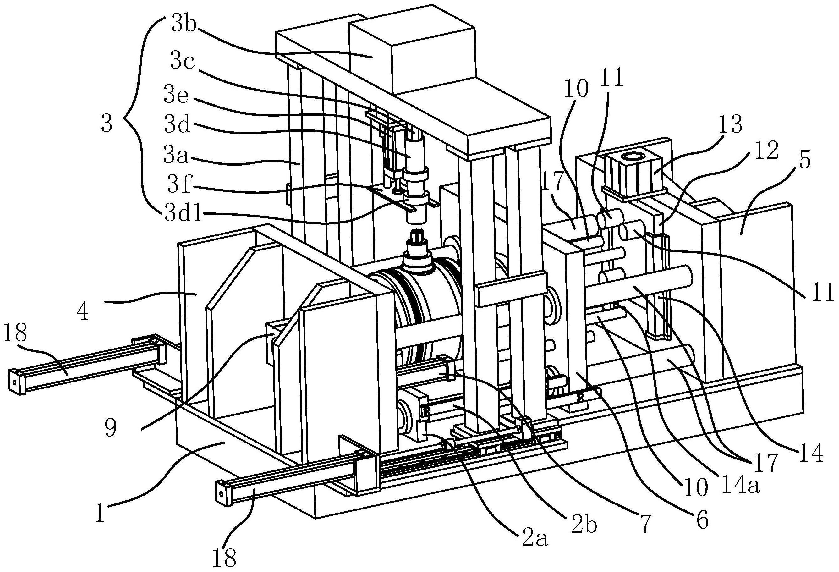
摘要
本发明属于球阀检测技术领域,涉及一种球阀扭力和耐久性检测装置。它解决了现有球阀扭力和耐久性的检测精度不高的问题。本球阀扭力和耐久性检测装置,包括工作台,工作台上设有球阀安装座和带动阀芯转动的扭转机构,工作台上还固连有固定座一和固定座二,固定座一和固定座二分别位于球阀安装座的前部和后部,固定座二与球阀安装座之间设有活动板,工作台上还设有与活动板相连并能够驱动活动板沿工作台前后方向移动的驱动源一,固定座一和活动板上均连接有用于封堵球阀端口的堵塞件,堵塞件上开设有进气孔,固定座一和活动板上均设有气泵,气泵与进气孔相连通并对球阀充气加压。本球阀扭力和耐久性检测装置提高球阀扭力和耐久性的检测精度。


