授权公布号:CN216727295U
一种用于聚乙二醇回收的树脂清洗系统
有效
申请
2021-12-22
申请公布
1970-01-01
授权
2022-06-14
预估到期
2031-12-22
| 申请号 | CN202123249709.X |
| 申请日 | 2021-12-22 |
| 授权公布号 | CN216727295U |
| 授权公告日 | 2022-06-14 |
| 分类号 | B01J49/60 |
| 分类 | 一般的物理或化学的方法或装置; |
| 申请人名称 | 江苏苏青水处理工程集团有限公司 |
| 申请人地址 | 江苏省无锡市江阴市长泾镇河塘常青路 |
专利法律状态
2022-06-14
授权
状态信息
授权
摘要
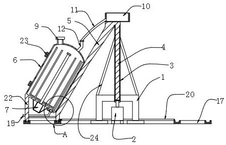
本实用新型公开了一种用于聚乙二醇回收的树脂清洗系统,涉及树脂清洗领域,包括底座,所述底座上设置有旋转轴,所述旋转轴的顶部固定连接有连接臂,所述底座的外部设置有两组环形的离心轨道,所述连接臂连接有底部通过罐体支撑柱在离心轨道内滑动的罐体,所述罐体内壁的一侧设置有分离管,所述分离管延伸处罐体的底部连接有泵机,内圈的所述离心轨道上设置有导电轨道。本实用新型设置清洗树脂的罐体,将罐体设置在离心轨道上,通过离心轨道的离心力将清洗后的废水和树脂分离,通过抽液泵抽出,不需要更换多级罐体,大大提高了对树脂的清洗效率,同时可不间断进行长时间的清洗,大大提升了对树脂的清洗洁净程度,提升了清洗树脂的效率。


