授权公布号:CN217410706U
一种乙二醇丁醚改性部份甲醚化氨基树脂反应釜
有效
申请
2021-12-22
申请公布
1970-01-01
授权
2022-09-13
预估到期
2031-12-22
| 申请号 | CN202123247189.9 |
| 申请日 | 2021-12-22 |
| 授权公布号 | CN217410706U |
| 授权公告日 | 2022-09-13 |
| 分类号 | B01J4/02;B01J19/18 |
| 分类 | 一般的物理或化学的方法或装置; |
| 申请人名称 | 江苏苏青水处理工程集团有限公司 |
| 申请人地址 | 江苏省无锡市江阴市长泾镇河塘常青路 |
专利法律状态
2022-09-13
授权
状态信息
授权
摘要
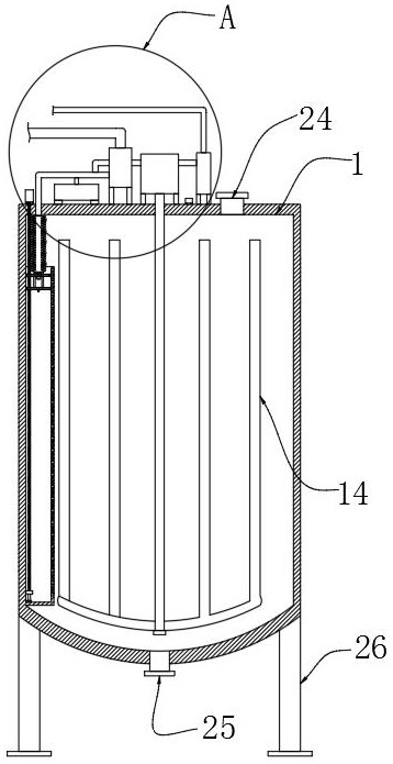
本实用新型公开了一种乙二醇丁醚改性部份甲醚化氨基树脂反应釜,涉及反应釜领域,包括釜体,所述釜体的内壁设置有投料管,所述投料管上均匀设置有多组投料管漏口,投料管内设置有可上下移动的投料腔,所述投料腔的底端设置有酸碱度探头,釜体的顶端设置有辅料计量泵、碱液计量泵、空气泵和酸碱度计量模块。本实用新型在釜体内壁上设置中空的投料管道,在投料管道内设置可上下移动的投料腔,通过投料腔在投料管内的上下移动,使投料腔内的反应所需辅料均匀的扩散至釜体内的各层,加快了反应速率,在投料腔的底端设置酸碱度探头,在釜体顶部设置可计量投入辅料的辅料计量泵和可计量加入碱液的碱液计量泵,精准控制加入釜体内的辅料和碱液量。


