授权公布号:CN216704409U
一种用于离子交换树脂再生的酸碱系统
有效
申请
2021-12-22
申请公布
1970-01-01
授权
2022-06-10
预估到期
2031-12-22
| 申请号 | CN202123249708.5 |
| 申请日 | 2021-12-22 |
| 授权公布号 | CN216704409U |
| 授权公告日 | 2022-06-10 |
| 分类号 | B01J49/10;B01J49/60 |
| 分类 | 一般的物理或化学的方法或装置; |
| 申请人名称 | 江苏苏青水处理工程集团有限公司 |
| 申请人地址 | 江苏省无锡市江阴市长泾镇河塘常青路 |
专利法律状态
2022-06-10
授权
状态信息
授权
摘要
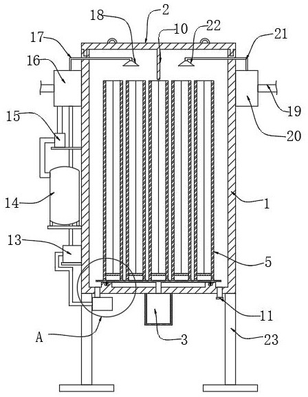
本实用新型公开了一种用于离子交换树脂再生的酸碱系统,涉及离子交换树脂领域,包括罐体,所述罐体的顶部连接有罐盖,且底部设置有旋转电机,所述旋转电机的输出端透过罐体在罐体的底部连接有转盘,罐体内一侧设置有淋洗头,且另一侧设置有喷淋头,罐体底部一侧通过管道连接有回收泵,所述回收泵通过管道连接酸碱度传感器,罐体在喷淋泵一侧的中部设置有储液罐,储液罐通过管道连接有计量泵,计量泵通过管道连接喷淋泵。本实用新型设置旋转的喷淋底座,使所有的再生柱内的离子交换树脂能均匀的受到喷淋,提高了喷淋清洗效率,在同一罐体内设置酸碱喷淋喷头,在淋洗完成后直接进行淋酸或淋碱,设置酸液或碱液的回流回收通道,降低了废水的排量。


