授权公布号:CN217410801U
一种多功能组合式离子交换树脂柱
有效
申请
2021-12-22
申请公布
1970-01-01
授权
2022-09-13
预估到期
2031-12-22
| 申请号 | CN202123249727.8 |
| 申请日 | 2021-12-22 |
| 授权公布号 | CN217410801U |
| 授权公告日 | 2022-09-13 |
| 分类号 | B01J47/022;B01J47/026 |
| 分类 | 一般的物理或化学的方法或装置; |
| 申请人名称 | 江苏苏青水处理工程集团有限公司 |
| 申请人地址 | 江苏省无锡市江阴市长泾镇河塘常青路 |
专利法律状态
2022-09-13
授权
状态信息
授权
摘要
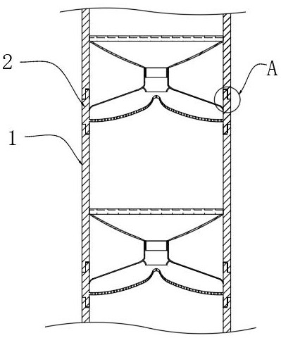
本实用新型公开了一种多功能组合式离子交换树脂柱,涉及离子交换树脂柱领域,包括罐体,所述罐体的顶端连接有罐盖,所述罐盖的顶端设置有罐体上接口,且底端设置有罐盖下接口,罐体的顶端设置有罐盖上接口,且底端设置有罐体下接口,顶板中部的顶端设置有上罐口,罐盖在顶板下方设置有匀流板,罐体底部的中央设置有下罐口,所述顶板内壁在上罐口的下方设置有导向板。本实用新型设置可拼接的罐体,可拼接内含有不同吸附性质的树脂,组合多组罐体可达到对复杂成分原液的吸附目的,设置弧形的顶板,在顶板的四周设置漏口,避免了罐体在连接的时候原液流出产生的浪费,在罐体的顶部设置有利于原液均匀流下的匀流板,保证了原液能够均匀的流经树脂。


