授权公布号:CN219714782U
橡胶实验用冲片机
有效
申请
2022-12-16
申请公布
1970-01-01
授权
2023-09-19
预估到期
2032-12-16
| 申请号 | CN202223382476.5 |
| 申请日 | 2022-12-16 |
| 授权公布号 | CN219714782U |
| 授权公告日 | 2023-09-19 |
| 分类号 | G01N1/06 |
| 分类 | 测量;测试; |
| 申请人名称 | 三角轮胎股份有限公司 |
| 申请人地址 | 山东省威海市青岛中路56号 |
专利法律状态
2023-09-19
授权
状态信息
授权
摘要
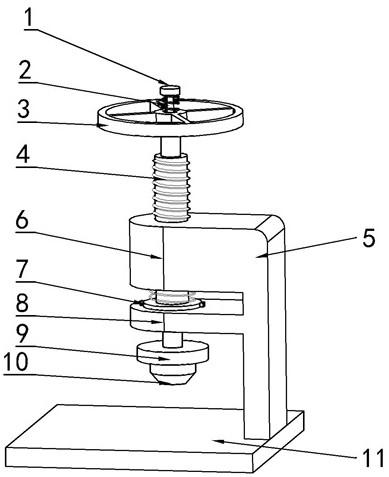
本实用新型涉及一种橡胶实验用冲片机,属于橡胶取样设置领域。设有支架,支架竖直固定安装在底座一侧,支架上端的内侧固定有升降套筒,所述升降套筒内加工有竖直的螺纹通孔,螺纹杆旋装在螺纹通孔内,所述的螺纹杆上方固定有转盘,螺纹杆内部沿轴向开设有空腔,空腔内部插装有挤出杆,所述挤出杆顶部固定有挤出把手,所述的挤出杆下端固定有冲压板,所述冲压板下方连接有裁切刀具;所述的转盘、螺纹杆、冲压部、冲压板和所述裁切刀具内部开设有垂直于底座的通孔,挤出杆直径小于通孔直径,且完全贯穿通孔,所述挤出压片安装在挤出杆下方,且直径略小于裁切刀具的通孔直径。


