授权公布号:CN115416773B
一种高性能橡胶履带和农用履带收割机的行走装置
有效
申请
2022-08-29
申请公布
2022-12-02
授权
2024-02-09
预估到期
2042-08-29
| 申请号 | CN202211041823.X |
| 申请日 | 2022-08-29 |
| 申请公布号 | CN115416773A |
| 申请公布日 | 2022-12-02 |
| 授权公布号 | CN115416773B |
| 授权公告日 | 2024-02-09 |
| 分类号 | B62D55/24;B62D55/06 |
| 分类 | 无轨陆用车辆; |
| 申请人名称 | 中策橡胶集团股份有限公司 |
| 申请人地址 | 浙江省杭州市钱塘区1号大街1号 |
专利法律状态
2024-02-09
授权
状态信息
授权
2022-12-20
实质审查的生效
状态信息
实质审查的生效;IPC(主分类):B62D55/24;申请日:20220829
2022-12-02
公布
状态信息
公布
摘要
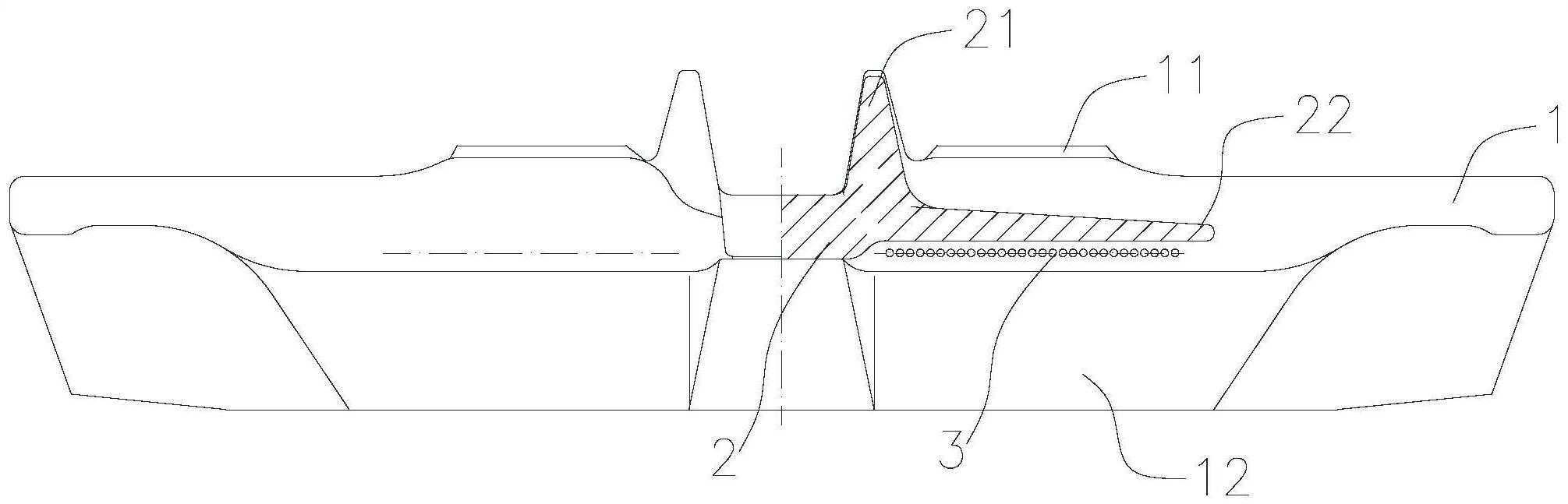
本发明涉及农用橡胶履带,尤其涉及一种高性能橡胶履带和农用履带收割机的行走装置。一种高性能橡胶履带,该履带采波浪形行驶面用,波浪形行驶面两个铁齿之间刚度提升,当有支重轮行驶在芯金本体之间位置时能提供更大支撑力,芯金本体上方支重轮相应的载荷减小,减小对芯金本体上方胶料的压力,延缓芯金本体上方胶料早期磨损掉块问题。进一步,通过加高轮侧胶的厚度来改变支重轮和芯金本体根部橡胶的接触,从而提高芯金本体根部的耐磨性能。


