授权公布号:CN220262701U
环抱型膨胀块及车辆
有效
申请
2023-07-31
申请公布
1970-01-01
授权
2023-12-29
预估到期
2033-07-31
| 申请号 | CN202322025960.0 |
| 申请日 | 2023-07-31 |
| 授权公布号 | CN220262701U |
| 授权公告日 | 2023-12-29 |
| 分类号 | B60R13/08 |
| 分类 | 一般车辆; |
| 申请人名称 | 天津市中赢新材料科技有限公司 |
| 申请人地址 | 天津市西青区辛口镇工业区泰兴路5号 |
专利法律状态
2023-12-29
授权
状态信息
授权
摘要
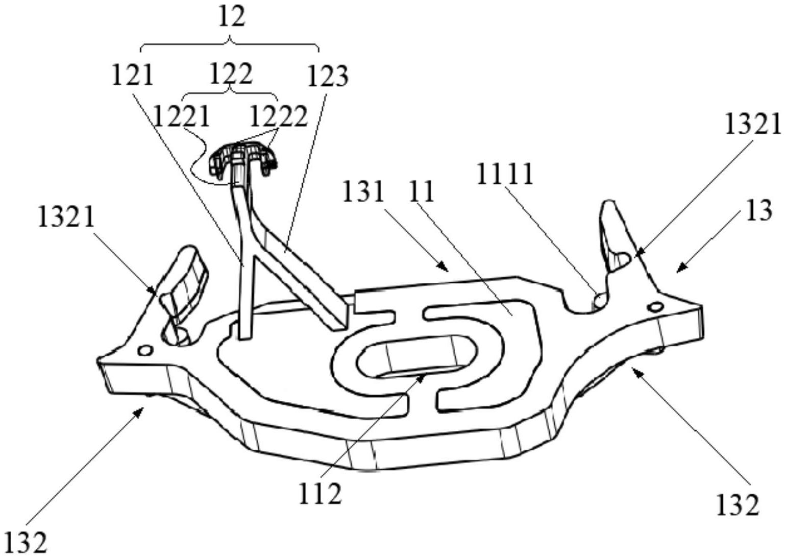
本实用新型公开了一种环抱型膨胀块及汽车,其属于汽车降噪技术领域,环抱型膨胀块包括骨架、连接组件和膨胀组件,其中,连接组件的一端连接于骨架,另一端可拆卸连接于汽车补板;膨胀组件包括包覆于骨架的轮廓的包覆部以及设置于包覆部两侧的弯折部,弯折部与包覆部之间形成容纳汽车补板的翻边结构的容纳空间,弯折部的自由端能够朝向靠近骨架方向弯折。通过设置连接组件,将其端部卡接于汽车补板上,达到固定的作用,连接组件的另一端与环抱型膨胀块的骨架相连,从而起到将环抱型膨胀块与汽车补板的连接效果,膨胀组件的两处弯折部包覆住汽车补板,并通过膨胀完成对汽车补板与安装板之间的腔体截面的封堵。


