授权公布号:CN100575078C
一种可防凝与除雾的油墨凹版印刷机
有效
申请
2007-01-30
申请公布
2008-08-06
授权
2009-12-30
预估到期
2027-01-30
| 申请号 | CN200710026648.6 |
| 申请日 | 2007-01-30 |
| 申请公布号 | CN101234550A |
| 申请公布日 | 2008-08-06 |
| 授权公布号 | CN100575078C |
| 授权公告日 | 2009-12-30 |
| 分类号 | B41F9/00;B41F9/08;B41F31/07;B41F33/00 |
| 分类 | 印刷;排版机;打字机;模印机〔4〕; |
| 申请人名称 | 珠海市乐通化工股份有限公司 |
| 申请人地址 | 广东省珠海市珠海市唐家湾镇金鼎官塘 |
专利法律状态
2009-12-30
授权
状态信息
授权
2008-10-01
实质审查的生效
状态信息
实质审查的生效
2008-08-06
公布
状态信息
公布
摘要
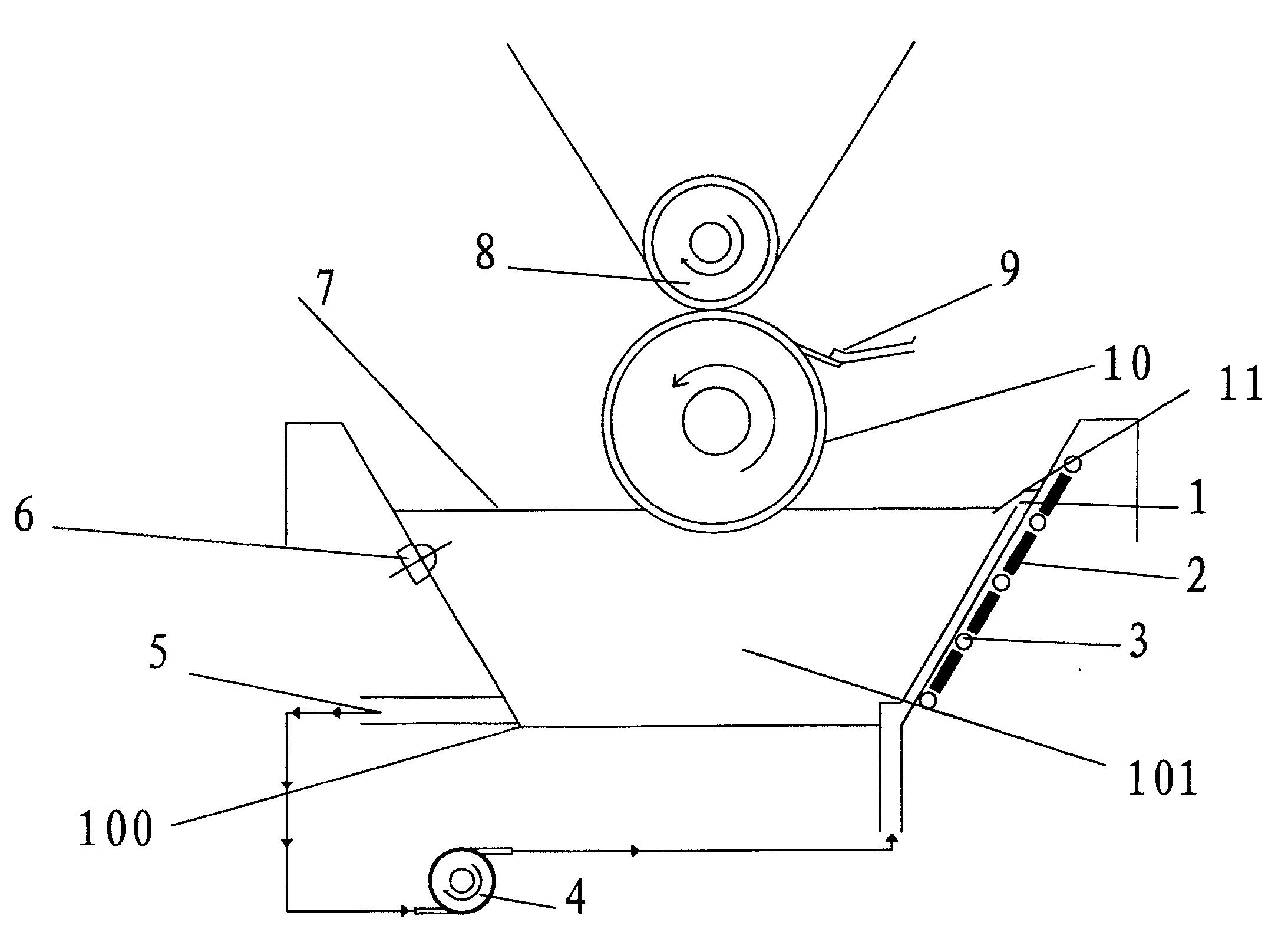
本发明的目的是提供一种能够防凝与除雾的油墨凹版印刷机,生产的印刷制品质量稳定,效果佳,具有极强的市场竞争力。本发明的主要发明点是将印刷机供墨系统之一的油墨储存腔作了革新改造,其主要特点是:在油墨储存腔底和槽边安装电子制冷器件作降温系统;在油墨储存腔底和槽边安装了电子加温器件作升温系统;在油墨槽油墨与印刷版之间的临界区域安装电子温度检测探头,用于检测和选择以及调节控制油墨的温度,以此恒定油墨和印刷版印面的温度,防止因季节性的温度变化造成印刷品出现雾气状;在油墨槽底部不影响印刷机操作和运转功能的适当位置,开设两个直径约50-80mm的孔口联接管道和安装具有灭弧装置的油墨循环泵作油墨循环调节。


