授权公布号:CN214106654U
一种印铁油墨的稀释装置
有效
申请
2020-09-11
申请公布
1970-01-01
授权
2021-09-03
预估到期
2030-09-11
| 申请号 | CN202021973362.6 |
| 申请日 | 2020-09-11 |
| 授权公布号 | CN214106654U |
| 授权公告日 | 2021-09-03 |
| 分类号 | B01F7/24;B01F15/00;B01F15/06 |
| 分类 | 一般的物理或化学的方法或装置; |
| 申请人名称 | 天津市星海油墨有限公司 |
| 申请人地址 | 天津市静海区西翟庄镇安庄子村 |
专利法律状态
2021-09-03
授权
状态信息
授权
摘要
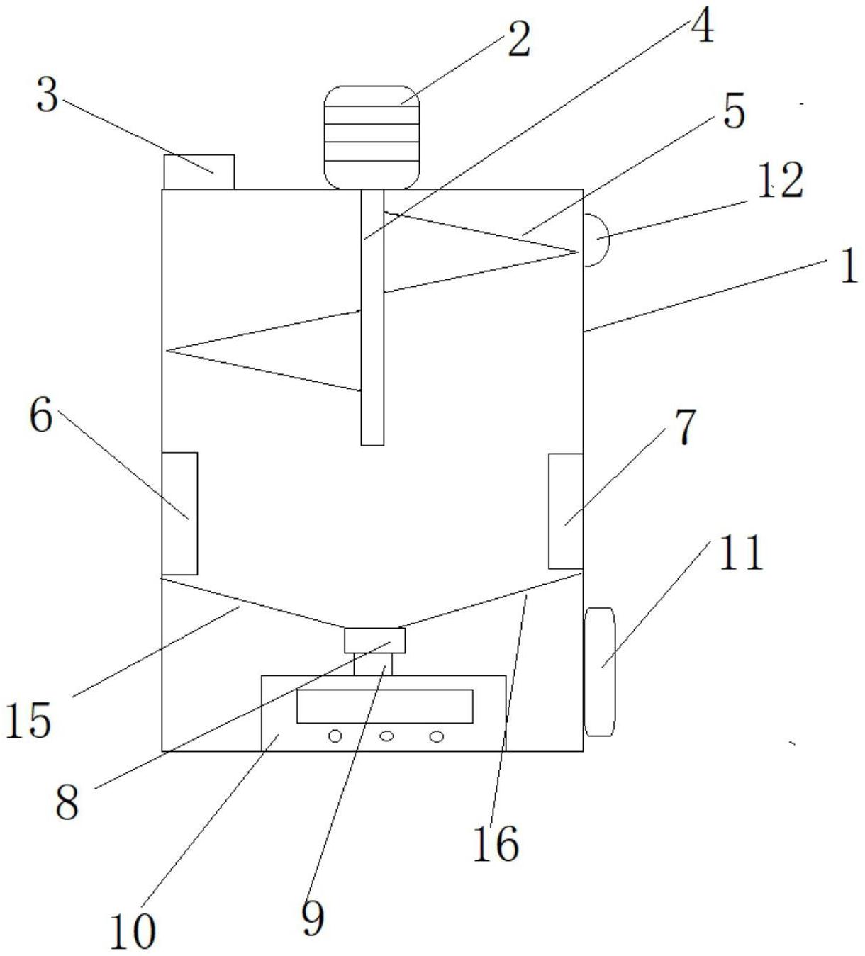
本实用新型公开了一种印铁油墨的稀释装置,包括稀释装置本体,所述稀释装置本体外表面设置有透明玻璃窗,所述透明玻璃窗上设置有液位刻度线,所述稀释装置本体上端中部设置有驱动电机,所述稀释装置本体上端左侧设置有进液口,所述稀释装置本体右侧上端设置有声光报警器,所述稀释装置本体右侧底端设置有控制器。本实用新型通过驱动电机、搅拌轴、搅拌电机的配合,能够对油墨进行充分搅拌,并且在搅拌过程中通过第一加热装置和第二加热装置进行加热,能够提高油墨的稀释效果,并且通过控制控制电磁阀的开启能够对油墨的稀释程度进行检测,结构合理,具有实用性。


