授权公布号:CN214106534U
一种纸袋装油墨的稀释装置
有效
申请
2020-09-11
申请公布
1970-01-01
授权
2021-09-03
预估到期
2030-09-11
| 申请号 | CN202021985498.9 |
| 申请日 | 2020-09-11 |
| 授权公布号 | CN214106534U |
| 授权公告日 | 2021-09-03 |
| 分类号 | B01F7/16;B01F15/02;B01F15/00;B01F15/04 |
| 分类 | 一般的物理或化学的方法或装置; |
| 申请人名称 | 天津市星海油墨有限公司 |
| 申请人地址 | 天津市静海区西翟庄镇安庄子村 |
专利法律状态
2021-09-03
授权
状态信息
授权
摘要
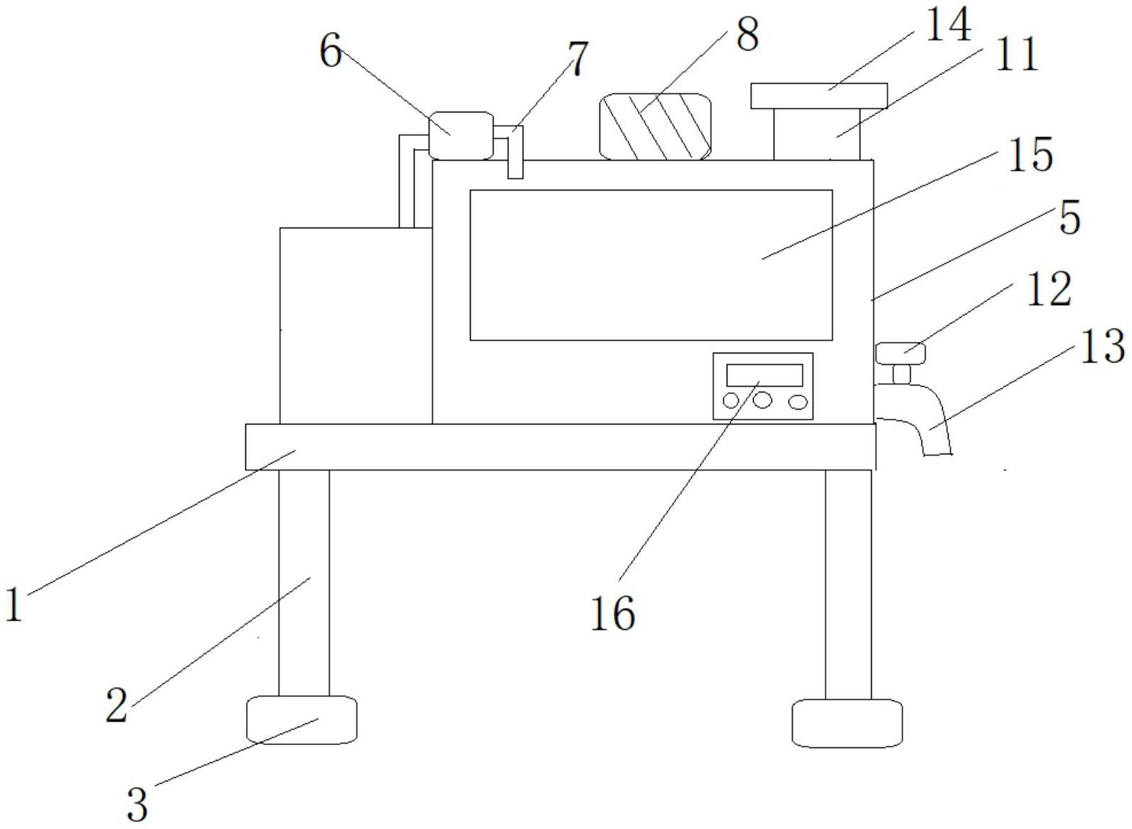
本实用新型公开了一种纸袋装油墨的稀释装置,包括底座,所述底座下端安装有支撑杆,所述支撑杆下端设置有支脚,所述底座上端设置有稀释装置,所述稀释装置左侧设置有稀释液储存装置,所述稀释装置上端左侧设置有抽液泵,所述抽液泵通过进液管与稀释装置连接,所述稀释装置上端中间设置有搅拌电机,所述搅拌电机与搅拌轴连接,所述搅拌轴贯穿稀释装置上端中部,所述搅拌轴上设置有搅拌刀片,所述稀释装置右侧上端设置有进料管,所述搅拌管上安装有进料控制阀,所述稀释装置右侧下端设置有出液装置,所述出液装置上端设置有出液阀。本实用新型提高了稀释装置的自动化程度,完成纸袋装油墨的稀释装置的工作。


