授权公布号:CN210965275U
一种用于三辊研磨机的冷却水箱
有效
申请
2019-09-10
申请公布
1970-01-01
授权
2020-07-10
预估到期
2029-09-10
| 申请号 | CN201921501124.2 |
| 申请日 | 2019-09-10 |
| 授权公布号 | CN210965275U |
| 授权公告日 | 2020-07-10 |
| 分类号 | B02C4/02 |
| 分类 | 破碎、磨粉或粉碎;谷物碾磨的预处理; |
| 申请人名称 | 天津市海龙油墨股份有限公司 |
| 申请人地址 | 天津市静海县静海镇大河滩村 |
专利法律状态
2020-07-10
授权
状态信息
授权
摘要
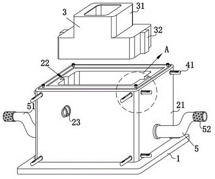
本实用新型公开了一种用于三辊研磨机的冷却水箱,包括底板、主体机构、水箱主体、滑槽、冷却腔、研磨机机构、研磨机主体、滑块、测温机构、测温条、测温腔、水银液、调节机构、连杆、第一螺旋桨和第二螺旋桨。本实用新型的有益效果是:在三辊研磨机长时间后,注意观测水箱主体侧壁上的多个测温条,当各处测温腔中的水银液的位移程度明显不同时,手动令连杆转动,连杆转动带动第一螺旋桨和第二螺旋桨转动,第一螺旋桨和第二螺旋桨转动令冷却水内部迅速的产生对流,从而本装置在使用时便于实时观测冷却水箱内各处冷却水的温度情况,当冷却水内部各处温度不均匀时便于调节冷却水的各处温度,使得装置的散热效果得以保证,提高了工作效率。


