授权公布号:CN204380421U
一种活性炭回收装置
有效
申请
2014-12-30
申请公布
1970-01-01
授权
2015-06-10
预估到期
2024-12-30
| 申请号 | CN201420871062.5 |
| 申请日 | 2014-12-30 |
| 授权公布号 | CN204380421U |
| 授权公告日 | 2015-06-10 |
| 分类号 | B01D46/02;B01D46/10;B01D46/42 |
| 分类 | 一般的物理或化学的方法或装置; |
| 申请人名称 | 上海金湖活性炭有限公司 |
| 申请人地址 | 上海市青浦区华新镇华徐公路4158号 |
专利法律状态
2015-06-10
授权
状态信息
授权
摘要
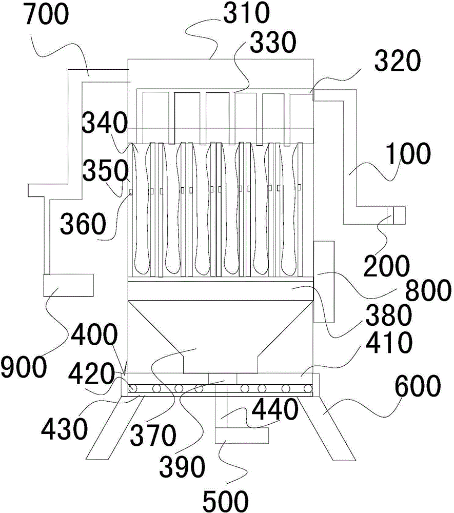
一种活性炭回收装置包括:吸料管、过滤网、除尘器、转盘、驱动电机、支撑架、排风管、控制器和真空泵。吸料管的一端与过滤网连接,吸料管的另一端与除尘器连接,除尘器的底部与转盘连接,转盘与驱动电机连接,支撑架与转盘连接,排风管与除尘器连接,控制器与红外装置和真空泵连接,真空泵与排风管连接。其中,除尘器包括:壳体、进料口、传输管道、滤袋、滤袋支架、红外装置、收集斗、隔离网和出灰口。本实用新型增加过滤网,在除尘前就减少颗粒灰尘的收集,减少除尘器负担;除尘器采用红外线监控设计,防止滤袋脱落影响正常工作;采用转盘设计,使除尘器可以旋转吸料,提高工作效率。


