授权公布号:CN207174915U
一种生产活性炭全自动负压进料装置
有效
申请
2017-04-19
申请公布
1970-01-01
授权
2018-04-03
预估到期
2027-04-19
| 申请号 | CN201720413174.X |
| 申请日 | 2017-04-19 |
| 授权公布号 | CN207174915U |
| 授权公告日 | 2018-04-03 |
| 分类号 | B65G53/24;B65G53/52 |
| 分类 | 输送;包装;贮存;搬运薄的或细丝状材料; |
| 申请人名称 | 上海金湖活性炭有限公司 |
| 申请人地址 | 上海市青浦区华新镇华徐公路4158号 |
专利法律状态
2018-04-03
授权
状态信息
授权
摘要
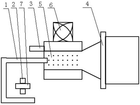
本实用新型的一种生产活性炭全自动负压进料装置,所述全自动负压进料装置用于包装热压无纺布制活性炭包,所述全自动负压进料装置包括包装机构和进料机构,所述进料机构设置在所述包装机构前端。所述进料机构包括进料通道和定量输送筐,所述定量输送筐将活性炭将外界送至所述进料通道中。所述包装机构包括侧边热压器、底边热压器、侧边阻隔网、吸风器,所述吸风器设置在所述侧边阻隔网上,所述侧边热压器设置在所述侧边阻隔网前部侧部,所述底边热压器设置在所述侧边阻隔网后部。通过吸风器的设置,通过无纺布进行吸入活性炭。从而解决了现有技术中超细颗粒带来的包装渗透的问题。


