授权公布号:CN110214267B
用于估计聚合物参数的便携式装置和方法
有效
申请
2017-11-17
申请公布
2019-09-06
授权
2023-01-10
预估到期
2037-11-17
| 申请号 | CN201780071690.1 |
| 申请日 | 2017-11-17 |
| 申请公布号 | CN110214267A |
| 申请公布日 | 2019-09-06 |
| 授权公布号 | CN110214267B |
| 授权公告日 | 2023-01-10 |
| 分类号 | G01N21/3563;G01N21/55;G01N21/84 |
| 分类 | 测量;测试; |
| 申请人名称 | 法国电力公司 |
| 申请人地址 | 法国巴黎 |
专利法律状态
2023-01-10
授权
状态信息
授权
2019-09-06
公布
状态信息
公布
摘要
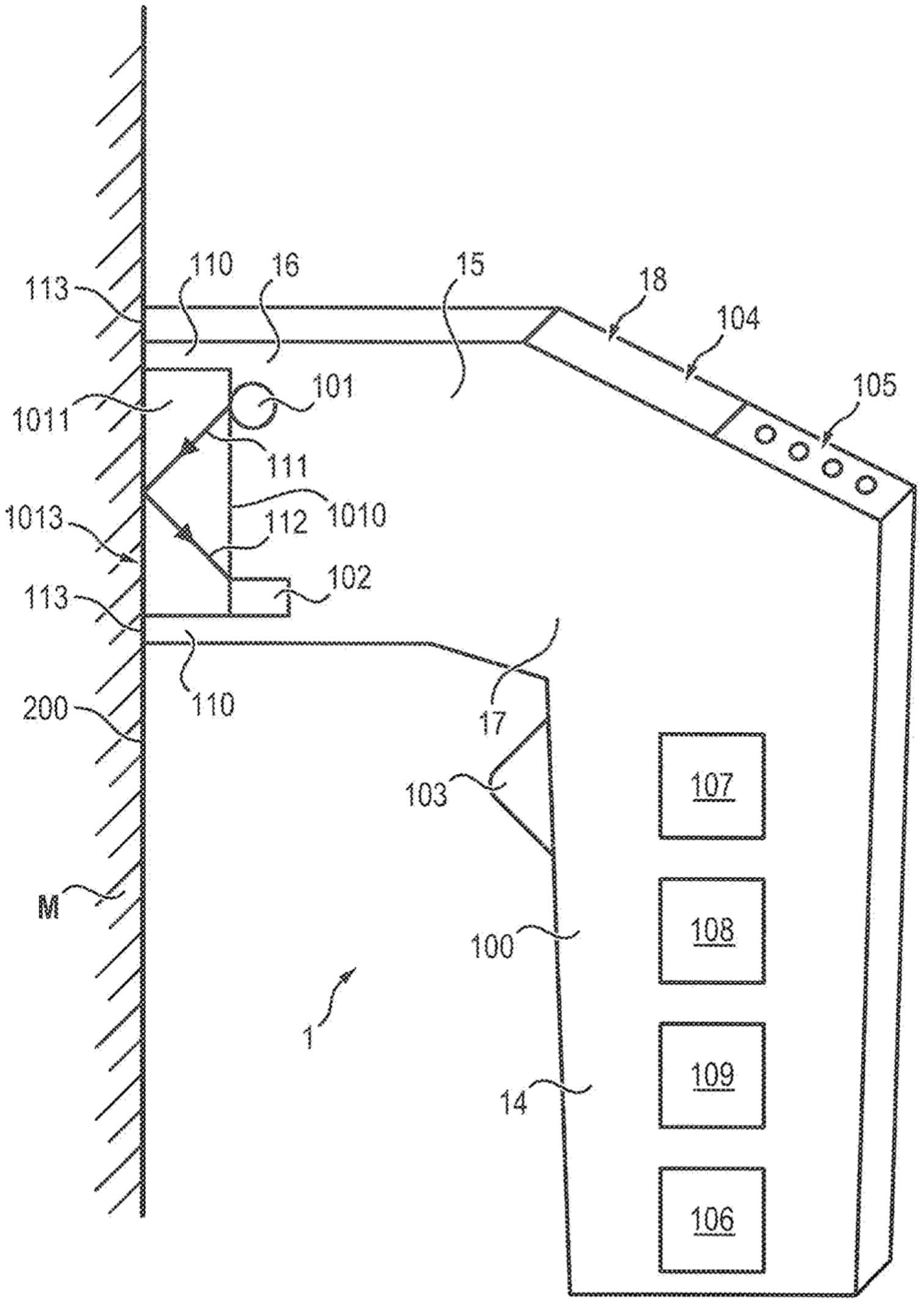
本发明涉及一种用于估计聚合物的至少一个特征参数的便携式装置(1),其特征在于装置包括:至少一个红外源(101),每个红外源(101)能够向聚合物发射选自10μm、9.5μm、7.2μm、6μm、3.5μm、2.7μm的波长或选自1000cm‑1、1050cm‑1、1350cm‑1、1700cm‑1、2900cm‑1、3700cm‑1的波数的谱线,其代表最大发射能量;至少一个红外检测器(102),其能够接收响应于谱线被聚合物(M)反射的红外辐射(112);和单元,其用于根据在被聚合物(M)反射并被红外检测器(102)接收的红外辐射(112)中的所述谱线中存在的能量,确定聚合物(M)的特征参数。


